Char
Varlet 1918

Char Varlet 1918
Франция
Штурмовой танк повышенной проходимости
|
масса |
? т |
|
вооружение |
75-мм орудие (?) 4 пулемета |
|
экипаж |
8 чел. |
|
проект |
1918г., Varlet |
Основная статья:
Французское танкостроение 1874г., 1903-1918гг.
Развитие по
параллельным аллелям
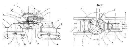
В марте 1918г. Sabathe и главный конструктор фирмы Delahaye – Амеде-Пьер Варле (Amedee-Pierre Varlet) подали заявку на патент под названием “Armement des chars de guerre” (вооруженная военная повозка). (Рис.1)

Рис. 1 – Чертеж
из
заявки Sabathe и Varlet на “Armement des chars de
guerre”. French Patent FR504013 of January 1918.
Довольно интересно выглядит конструкция гусениц. В целом, они представляли собой относительно традиционную конструкцию гусеницы с ведущей звездочкой большого диаметра спереди и колесом/ленивцем такого же размера сзади, на которое натягивалась гусеница. Между этими двумя колесами большого диаметра находились три маленьких опорных катка. (Рис.2)
Рис.2 - French Patents
FR503169 (слева) of January 1917
and FR504012 (справа) of January 1918.
Все эти части были скреплены между двумя треугольными пластинами.
Менее традиционной частью этой гусеничной системы было то, что над уровнем двух
больших колес находилось большое центральное шарнирное крепление для всего
агрегата, позволяющее ему поворачиваться как единое целое, и вокруг которого
находилась цепь, приводившая в движение переднюю звездочку.
Подробности о составе вооружения и численности экипажа первого варианта Char Varlet не приводятся, но машину характеризуют как штурмовой танк повышенной проходимости, хотя выглядел проект, скорее, как теоретический демонстратор технологий.
Далее авторы - Sabathe и Varlet – пошли по пути разработки более
конкретной модели сочлененной боевой машины типа «танк» на четырех гусеницах.
Новый проект фиксируется в марте 1918г. (Рис.3)
Рис.3 – Второй вариант
Char Varlet, 1918г. French Patent FR504610
of March 1918.
Некоторые источники замечают, что, якобы, в данном патенте оговаривалась возможность применения совершенно другой конструкции четырехгусеничной ходовой части. Разработчики вернулись к идее некруглого (многоугольного) колеса/опорного катка в гусеничной ходовой, создав треугольный тип гусеницы, его также определяют как «треугольное гусеничное колесо». (Рис.4)
Рис.4 – Контур треугольной гусеницы. French Patent FR504609
of March 1918.
Привод приводился в движение по центру
посредством цепи от того же вала, который обеспечивал поддержку устройства и
оси, вокруг которой оно могло вращаться. На этот раз привод был не цепным - а
зубчатым колесом, и по-прежнему использовалась зубчатая звездочка большого
диаметра, обеспечивающая движение тяжелых металлических гусеничных звеньев с
плоскими грунтозацепами. Эта звездочка закреплялась между сэндвичем из двух
больших треугольных пластин, у которых в двух других углах были большие
(беззубые) колеса, оба из которых были оснащены винтом натяжения гусеницы. Все
три стороны агрегата были оснащены одинаковыми тремя маленькими колесами/опорными
катками малого диаметра, которые выдерживали большую часть нагрузки машины на
земле, хотя из 9 опорных катков только 3 могли одновременно находиться в
контакте с землей на ровной твердой поверхности. Авторы считали, что такого
типа треугольная гусеница хорошо подходит для боевых машин, действующих на
неровной, пересеченной местности.
В сети даже можно встретить художественное
изображение второго варианта танка Varlet на треугольных гусеницах, хотя в
самом патенте French Patent FR504610 такого
рисунка не было. (Рис.5)

Рис.5 – Умозрительное
представление второго варианта танка Varlet на треугольных гусеницах.
Ввиду явной технической сложности проекта, ни один из вариантов Char Varlet 1918 в металле не воплощались.


