Важнейшие технические решения © Смирнов А.Г., 2022г.
В тридцатые годы XX века были найдены технические решения, нашедшие применение, практически, на всех танках мира второй половины столетия и актуальные до наших дней. Нельзя сказать, что танки уже тогда обрели облик современных машин, но, несомненно, появились узлы, агрегаты, технические решения, которые при их рациональном сочетании определили облик будущего танкостроения.
Стержневыми направлениями развития являлись: компоновка, силовая установка, ходовая часть, защита, вооружение, приборы наблюдения, связь.
*Компоновка и вооружение.
Компоновка танков разных классов в то время все еще не смотрелась единообразной. Почти в каждой весовой или тактической нише развитие компоновки танка шло особенным путем. Наибольший интерес представляет анализ эволюции компоновки легких танков, средних танков разного тактического назначения и тяжелых танков.
На начало Коричневого Этапа фиксируются следующие господствующие представления в компоновке танков.
Легкие танки: двух- или трехместные машины, спереди – отделение управления, далее – боевое отделение с одноместной или двухместной башней, либо с двумя одноместными башнями, на корме – силовая установка (далее в тексте подобная компоновка корпуса - без башни/башен - трактуется, как классическая танковая); вооружение: либо раздельное (отдельно пулеметные машины, отдельно пушечные с 37-мм орудием), либо пушечно(37/47 мм)-пулеметные. Образцовые представители: Renault FT, Vickers Mk E, Christie M1931. (Рис.1)

Renault FT-17 (Франция). 6,5 – 6,7 т. Экипаж 2 чел.
Слева танк с пулеметным вооружением, справа – с 37-мм пушкой.

Vickers Mk E (Британия). 7,2 т. Экипаж 3 чел.
Слева танк с двумя пулеметами в раздельных башнях, справа - с 47-мм пушкой и пулеметом в одной башне.

Christie M1931 (США). 10,5 т. Экипаж 2 чел.
Вооружение – 37-мм пушка и пулемет.
Рис.1 – Образцовые легкие танки на начало Коричневого Этапа.
К началу тридцатых XX века все еще рассматривались варианты легких танков и по совершенно другой компоновочной схеме, предложенной в начале 1920-х годов фирмой Vickers. Танковая компоновка Vickers: спереди – моторное отделение, далее – отделение управления и боевое отделение с башней; вооружение пушечно(37 мм)-пулеметное. Образцовые представители: немецкие легкие танки типа VK 31. (Рис.2)

Рис.2 – Легкий танк VK 31 Rheinmetall (Германия).
8,9 т. Экипаж 4 чел. Вооружение 37-мм пушка и пулемет.
В категории средних танков также можно выделить несколько типов компоновки.
1-й тип среднего танка, танковая компоновка Vickers: спереди – силовая установка, далее – отделение управления и боевое отделение с двухместной башней; вооружение пушечно-пулеметное, при этом возможны разные типы орудий – либо, преимущественно, противотанковое (47 мм), либо короткоствольная гаубица (93 мм). Образцовые представители: Vickers Medium Mk.I-Mk.II, Vickers Medium CS. (Рис.3)

Рис.3 – Танки типа Vickers Medium Mk.I-Mk.II (Британия). Около 12 т. Экипаж 5 чел.
Слева с 47-мм пушкой, справа – с 93-мм орудием.
2-й тип: компоновка корпуса классическая танковая, многобашенные (не более трех башен, главная башня – пушечная, трехместная) танки; вооружение пушечно-пулеметное (пушки 37 мм или 47 мм, основное назначение - противотанковое средство, 75-мм пушка, пулеметы – против живой силы). Образцовые представители: Vickers Medium Mk III, Pz.Nb.Fz.V (Рис.4).

Vickers Medium Mk III (Британия). 17,5 т. Экипаж 6 чел. Вооружение 47-мм пушка и 3 пулемета.

Nb.Fz.V (Германия). 23 т. Экипаж 6 чел. Вооружение пушки 75 мм и 37 мм, 3 пулемета.
Рис.4 – Образцовые средние трехбашенные танки.
3-й тип: компоновка типа Char Lourd FCM: спереди отделение управления, далее боевое отделение с трехместной башней, далее – моторное отделение, на корме – одноместная башня; вооружение пушечно-пулеметное (в главной башне 75-мм орудие и пулемет/пулеметы, в кормовой башне пулемет). Образцовые представители: варианты по теме Grosstraktor (Рис.5).

Рис.5 – Боковая проекция Grosstraktor II Rheinmetall (Германия).
19,3 т. Экипаж 6 чел. Вооружение 75-мм орудие и 3-4 пулемета.
4-й тип: компоновка корпуса классическая танковая, однобашенные танки с одноместными или 2-3-местными башнями; вооружение пушечно-пулеметное (пушка от 37 мм до 47 мм, как правило - противотанковое средство, 57-мм пушки имели и фугасные снаряды, пулеметы – против живой силы). Образцовые представители: Medium Tank А7, Renault D1, Type 89. (Рис.6)

Средний однобашенный танк типа А7 (Британия). 18,2 т.
Экипаж 5 чел. Вооружение 47-мм орудие и 2 пулемета.

Средний однобашенный танк D1 (Франция). 14,2 т.
Экипаж 3 чел. Вооружение 47-мм пушка, 2 пулемета.

Средний однобашенный танк Type 89 (Япония). 11,5 т.
Экипаж 4 чел. Вооружение 57-мм пушка, 2 пулемета.
Рис.6 – Образцовые средние однобашенные танки на начало Коричневого Этапа.
5-й тип среднего танка: компоновка корпуса классическая танковая, многоместная (до 5-ти человек) двухъярусная башня (точнее, две башни установленные друг на друга); вооружение пушечно-пулеметное, при этом в двухъярусной башне могли находится либо 57/45-мм орудие и пулемет, либо 76-мм орудие, 37-мм орудие и пулемет. Образцовые представители: Т-24 и ТГ-1. (Рис.7)

Средний Т-24 (СССР). 18,5 т.
Экипаж 5 чел. Вооружение 45-мм пушка, 4 пулемета.

Средний ТГ-1 (СССР). 17/25 т.
Экипаж 5 чел. Вооружение 76-мм орудие, 37-мм орудие, 5 пулеметов.
По техническим причинам нижняя башня на ТГ не могла поворачиваться, т.е. по факту танк получил рубку с вращающейся малой башней на ней, но по проекту предусматривалось именно две башни одна на другой.
Рис.7 – Образцовые средние танки с двухъярусными башнями на начало Коричневого Этапа.
Тяжелые танки, здесь также можно найти несколько типов.
1-й тип: компоновка корпуса классическая танковая, многобашенные (не более пяти башен); вооружение пушечно-пулеметное (пушка 47 мм, преимущественно, противотанковое средство, пулеметы – против живой силы). Образцовый представитель: A1E1 “Independent” (Рис.8).

Рис.8 - Тяжелый пятибашенный танк A1E1 “Independent” (Британия).
32,5 т. Экипаж 8 чел. Вооружение 47-мм пушка, 4 пулемета.
2-й тип: компоновка типа Char Lourd FCM: спереди отделение управления, далее боевое отделение с трехместной башней, далее – моторное отделение, на корме – одноместная башня; вооружение пушечно-пулеметное (в главной башне 75-мм орудие и пулеметы, в кормовой башне пулемет). Образцовый представитель: FCM 2C (Рис.9).

Рис.9 – Тяжелый двухбашенный танк FCM 2C (Франция).
70 т. Экипаж 12-13 чел. Вооружение 75-мм орудие, 5 пулеметов.
Японцы при разработке в начале 1930-х годов своего тяжелого танка Type 91 (Рис.10) модифицировали компоновку FCM 2C, установив в передней части корпуса третью башню.

Рис.10 – Средний по массе тяжелый танк Type 91 (Япония).
18 т. Экипаж 6 чел. Вооружение 70-мм орудие, 3 пулемета.
Рассмотрим метаморфозы компоновки выделенных выше категорий танков.
Легкие танки. К концу Этапа в танкостроении довольно прочно закрепилось представление о легких танках, как о трехместных или четырехместных машинах с классической танковой компоновкой, двухместной башней, с пушечно-пулеметным вооружением, где пушка (от 20 мм до 47 мм) выполняла, как правило, роль противотанкового средства, хотя к орудию могли прилагались и снаряды фугасного действия. Образцовые представители: 7TP jw PZInż.220, Т-26, танки типа БТ-5/БТ-7, Pz.Kpfw.II, Landsverk L-60S, LT vz.35, LT vz.38, «Ха-Го». (Рис.11)

7TP jw PZInż.220 (Польша). 9,9 т.
Экипаж 3 чел. Вооружение 37-мм орудие, пулемет.

Т-26 обр.1937г. (СССР). 9,5/9,75 т.
Экипаж 3 чел. Вооружение 45-мм орудие, 2 пулемета.

БТ-7 (СССР). 13 т.
Экипаж 3 чел. Вооружение 45-мм пушка, пулемет.

Вариант Pz.II (Германия). 8,9/9,5 т.
Экипаж 3 чел. Вооружение 20-мм пушка, пулемет. Танк имел одноместную башню, но в боевом отделении находились два члена экипажа.

Landsverk L-60S (Швеция). 8,5 т.
Экипаж 3 чел. Вооружение 37-мм орудие, пулемет.

LT vz.35 (Чехословакия). Ок 10 т.
Экипаж 4 чел. Вооружение 37-мм орудие, 2 пулемета.

LT vz.38 (Чехословакия). 7,7/9,4 т.
Экипаж 3 чел. Вооружение 37-мм орудие, 2 пулемета.

Ha-Go (Япония). 7,4/7,6 т.
Экипаж 3 чел. Вооружение 37-мм пушка, 2 пулемета.
Рис.11 – Образцовые легкие танки на конец Коричневого Этапа.
Однако в 1930-е все еще развивались и легкие танки иного типа: двухместные машины с классической танковой компоновкой, одноместной башней, с пушечно-пулеметным вооружением (пушка 37 мм). Эти машины выделялись в обособленную нишу, поскольку их отличительной чертой являлось противоснарядное бронирование. Образцовые представители: Renault R-35, Hotchkiss H-35, FCM 36. (Рис.12)

Renault R-35

Hotchkiss H-35

FCM 36.
Рис.12 – Французские тяжелобронированные легкие танки.
Экипаж 2 чел. Вооружение 37-мм пушка, пулемет.
Что касается двухбашенных легких танков, то во второй половине 1930-х только в США серийно строились такие машины. (Рис.13)

Рис.13 - Light Tank M2A3 (США). 9,4 т.
Экипаж 4 чел. Вооружение 3 пулемета, в одной из башен устанавливался крупнокалиберный пулемет.
Средние танки. К концу Коричневого Этапа идея трехбашенных средних танков стала отходить на задний план, идея однобашенных средних танков явилась превалирующей. Ушли в прошлое и двухъярусные башни. Потеряла актуальность также компоновка с передним размещением моторного отделения (танковая компоновка Vickers) – теперь средние танки мыслились исключительно с классической танковой компоновкой корпуса.
Довольно остро обозначилась проблема башни для среднего танка. Французы, по-прежнему, продолжали строить средние танки с одноместной башней – танки типа D2 и SOMUA S35. (Рис.14)

Варианты танка D2. 19,75 т. Экипаж 3 чел.
Вооружение 47-мм орудие, 2 пулемета.


SOMUA S35. 20 т.
Экипаж 3 чел. Вооружение 47-мм орудие, пулемет.
Рис.14 – Французские средние по массе танки к концу Коричневого Этапа.
Японцы и чехи проектировали средние по массе однобашенные танки, преимущественно, с двухместной башней – Type 97 Chi-Ha, ST vz.39. (Рис.15)

Type 97 Chi-Ha (Япония).
15 т.
Экипаж 4 чел. Вооружение 57-мм пушка, 2 пулемета.

ČKD V-8-H/ST vz.39 (Чехословакия). 16,2 т.
Экипаж 4 чел. Вооружение 47-мм пушка, 2 пулемета.
Рис.15 – Японские и чехословацкие средние по массе танки к концу Коричневого Этапа.
Советские видели необходимость трехместной башни на среднем однобашенном танке, но реализовать трехместную башню на однобашенном среднем серийном танке к концу Этапа удалось только немцам - Pz.Kpfw.III и Pz.Kpfw.IV. (Рис.16)

На данной картинке изображен вариант Pz.III Ausf.E.

Pz.III. 19,8 т. Экипаж 5 чел. Вооружение 37-мм орудие, 3 пулемета.

Pz IV. 17,2 т. Экипаж 5 чел. Вооружение 75-мм орудие, 2 пулемета.
Рис.16 – Немецкие средние по массе танки к концу Коричневого Этапа.
Британцы также проектировали перспективные танки среднего класса с трехместной башней: как пехотные – А13, так и крейсерские – А13, но в обоих случаях эти машины были не пятиместными, а четырехместными. (Рис.17)

А12 (Британия). Экипаж 4 чел. 26,9 т. Вооружение 40-мм орудие, пулемет.

А13 (Британия). Экипаж 4 чел. 14,2 т. Вооружение 40-мм орудие, пулемет.
Рис.17 – Британские перспективные четырехместные танки.
В вопросе вооружения однобашенных средних танков также наметилось несколько тенденций. Если французы и британцы считали, что главной функцией орудия на среднем танке является противотанковая борьба (47-мм и 40-мм орудия), то советские мечтали вооружать средние танки 76-мм орудием, являющимся и эффективным противотанковым средством, и обладавшим достаточным фугасным воздействием на живую силу и легкие полевые укрытия, но с орудием такого типа в СССР вышла заминка. Немцы продолжили сочетание средних танков с 37-мм противотанковой пушкой (Pz III) и средних танков типа CS с 75-мм короткоствольной гаубицей (Pz IV).
Следует заметить, что к концу Этапа в германском танкостроении обозначился еще один тип среднего танка с классической танковой компоновкой корпуса, но без башни; вооружение 75-мм пушка и пулемет. Это был вариант, так называемого, штурмового танка (или штурмового орудия), правда, пока такая машина являлась экспериментом. (Рис.18)

Рис.18 – Немецкий средний по массе штурмовой танк Pz.Sfl.III.
16 т. Экипаж 4 чел. Вооружение 75-мм орудие и пулемет.
Еще одна интересная инновация, связанная с возможной компоновкой французского перспективного среднетяжелого танка по теме G, была озвучена летом 1938г. лейтенант-полковником Балланом. Он предложил проект с башней, в которой размещено только вооружение, а весь экипаж располагается в корпусе. 75-мм пушка в башне заряжалась бы автоматически, прицеливание и наблюдение велись бы посредством коленчатых смотровых приборов. Данная концепция позволяла уменьшить массу башни и разместить более мощное вооружение на танке. (Рис.19)

Рис.19 – Фантазия на тему G1 с необитаемой башней.
По первоначальной спецификации G – масса танка ограничивалась 26 т. По спецификации 1938г. – масса 30-32 т, вооружение 75-мм пушка и 2 пулемета, экипаж 4 чел.
Похоже, французский лейтенант-полковник Баллан первым предложил ввести в конструкцию танка необитаемую башню и автомат заряжания, что позволило бы сократить экипаж и улучшить его защищенность. Реализация в то время столь амбициозного проекта объективно затруднялась большим числом технически сложных узлов и агрегатов. Кроме того, нетрудно было прогнозировать сложность в производстве столь высокотехнологического изделия, проблемы с эксплуатацией подобной системы.
Тяжелые танки. К концу Этапа тяжелые танки были представлены двумя основными вариантами. Первый вариант – развитие идеи пятибашенного A1E1 “Independent” – правда, развитие темы последовало не в Британии (на родине A1E1), а в СССР. Советский Т-35 получил более агрессивное вооружение. Его главным калибром выступало 76-мм орудие в четырехместной башне (в бою в главной башне оставалось 3 члена экипажа), в двух одноместных башнях имелось по одному 45-мм орудию (рассматривались как противотанковые, но к ним имелись и фугасные снаряды) и еще два пулемета находились в двух одноместных башнях. (Рис.20)

Рис.20 – Советский серийный тяжелый пятибашенный танк Т-35.
50 т. Экипаж 12 чел. Вооружение: 76-мм орудие, два 45-мм орудия, 5 пулеметов.
Французский вариант тяжелого танка типа B1 (Рис.21) являлся машиной с разноуровневой компоновкой артиллерийского вооружения – 75-мм орудие в лобовом элементе корпуса и 47-мм орудие, преимущественно, как средство борьбы с бронированными целями – в одноместной башне.

Рис.21 – Варианты тяжелого французского танка типа В1.
28-32 т. Экипаж 4 чел. Вооружение 75-мм орудие, 47-мм орудие, пулемет.
Подводя итоги, внимательный наблюдатель заметит, что в целом компоновка легких и средних танков к концу Этапа выглядела одинаково: классическая танковая компоновка корпуса с одной башней. Легкие танки являлись 3-4-местными машинами (за исключением линейки французских тяжелобронированных легких танков), средние также – 3-4-местными с обозначившейся прогрессивной тенденцией к 5-местным машинам с трехместными башнями. (Рис.22, Рис.23)


Варианты компоновки трехместных танков.


Варианты компоновка четырехместного танка.
Рис.22 – Стандартные компоновки трех- и четырехместных легких и средних танков.

Рис.23 – Перспективная пятиместная компоновка среднего танка.
Следует подчеркнуть важность появления третьего члена экипажа в башне - за счет этого командир танка высвобождался от функций наводчика орудия, мог сосредоточиться на наблюдении за полем боя и управлением танком, как единой системой.
В отношении компоновки тяжелых танков все еще не было единого стандарта, однако просматривается, что во главу угла ставилось наличие разного по назначению пушечного вооружения.
В нише сверхтяжелых танков в 1932-1933гг. в СССР развивалась интересная танковая компоновка типа Ansaldo-Т-39: спереди отделение управления, далее боевое отделение с разноуровневым расположением нескольких башен, в кормовой части моторное отделение, над которым также одна башня; вооружение пушечно-пулеметно-огнеметное (пушечное вооружение обильное и разнообразное от 45-мм калибра до 152-мм, до 6-ти пулеметов, огнемет или 2 огнемета). Образцовые представители: варианты по теме Т-39 (Рис.24)


Рис.24 – Варианты танка Т-39 (СССР).
90 т. Экипаж 12 чел. Вооружение 152-мм орудие или до 4-х 107-мм орудий, от 1-го до 3-х 45-мм орудия, 4-6 пулеметов, 1-2 огнемета.
*Ракетное вооружение на танках.
В начале-середине 1930-х годов в СССР тестировалась тема размещения на танках ракетно-реактивного и динамо-реактивного вооружения. Впоследствии, в 1950-60-е годы в СССР ракетные танки будут производить серийно, а практически все современные ОБТ имеют гладкоствольные орудия, выпускающие снаряды с ракетной стабилизацией.
Начнем с динамо-реактивного вооружения.
История с динамо-реактивными или газодинамическими пушками в России берет начало в 1916г. Инженер Д. Рябушинский сконструировал 70-мм пушку на треножном станке. Газы выбрасывали снаряд из ствола, частично выходя наружу через противоположное ему отверстие. Таким приемом снижался откат и масса орудия. Орудие на таких принципах в 1923г. сконструировали Л.В. Курчевский (Рис.25) и С.Н. Изенбек, они назвали его динамо-реактивной пушкой (ДРП).

Рис.25 – Леонид Васильевич Курчевский, 1890/1891-1937гг.
Казенная часть ДРП оканчивалась соплом Лавалля, из которого часть пороховых газов вылетала назад, своим реактивным действием компенсируя откат, что позволяло отказаться от противооткатных приспособлений и упростить как лафет, так и артсистему в целом. Начиная с весны 1923г., Л.В. Курчевский бомбардировал письмами все вышестоящие инстанции, предлагая свои ДРП. Руководство обратило внимание на инициативного конструктора, и 25 сентября 1923г. специальное совещание под председательством Главкома С.С. Каменева постановило начать работы по созданию «полковой» и «самолетной» пушек ДРП, а в 1924г. начала работу комиссия по безоткатным динамо-реактивным пушкам под руководством В. Трофимова и Е. Беркалова.
29-31 марта 1928 года на НИАПе проводились сравнительные испытания перспективных артсистем, помимо прочего, тестировались две 76-миллиметровые безоткатные (динамореактивные) пушки Курчевского. (Рис.26, Рис.27)

Рис.26 – 76-мм батальонная пушка Курчевского.

Рис.27 – Предположительно, 76-мм пушка Курчевского на автомобильном шасси, рядом, надо полагать, автор.
Руководил испытаниями Тухачевский. Хотя образцы ДРП показали худшие результаты по сравнению с классическими орудиями (меткость, скорострельность и так далее), однако Тухачевскому ДРП понравились, его резолюция: «К дальнейшим опытам на АКУКС необходимо доработать ДРП для того, чтобы уничтожить демаскирование. Дата окончания доработки 1 августа 1928 года. Поставить вопрос о совмещении зенитной и противотанковой пушек». Впрочем, приписка о совмещении зенитной и противотанковой пушки в одном изделии относится, скорее, не к ДРП, а к обычной ствольной артиллерии.
Встречаются сведения о НИОКР по теме ДРП Курчевского калибром 37 мм, 76,2 мм, 152 мм и даже 305 мм.
Примерно, в 1932г. на ДРП обратили внимание лица, занимавшиеся танкостроением (- видимо, с подачи все того же Тухачевского). И вскоре начались опыты по установке этих орудий на танки. В литературе встречаются указания на разные калибры ДРП Курчевского, в качестве опытов устанавливавшиеся на разные типы танков. Пишут и про 76-мм ДРП на Т-27, Т-26, Т-28 и Т-35, и про 152-мм ДРП на Т-35, БТ-5 и Т-28, и про 154-мм ДРП на Т-28, и про 203-мм ДРП на БТ-2, и даже о 305-мм ДРП на Т-28.
Из перечисленных выше калибров не вызывает сомнение, пожалуй, возможность тестирования на танках 76-мм ДРП, поскольку известно, что в «Системе артиллерийского вооружения Красной Армии на вторую пятилетку 1934-1938 гг.» от 11 января 1934г. в разделе САУ под пунктом 1 значилась: «Самоходная 76,2-мм динамо-реактивная пушка типа «К» (Л.В. Курчевского), как орудие непосредственного артиллерийского сопровождения войск». И это опция действительно была выполнена. САУ с 76,2-мм динамо-реактивной пушкой Курчевского строили на специальном автомобильном шасси ГАЗ-ТК – плод комбинации узлов и агрегатов от ГАЗ-А и ГАЗ-АА, разработанном в 1934г. (Рис.28)

Рис.28 - ГАЗ-ТК.
76-мм ДРП устанавливалась сзади на тумбовой установке. Стрельба могла производиться как с машины, так и с грунта. Скорострельность составляла до 10 выстрелов в минуту. Бронирование отсутствовало. В качестве защиты от атак пехоты с собой перевозился пулемет ДТ. (Рис.29)


Рис.29 – ГАЗ-ТК с 76-мм пушкой Курческого.
По основным параметрам, исключая прицельную дальность, БПК соответствовала требованиям РККА, однако её сильные демаскирующие свойства (сильный звук выстрела и облака пыли) привели к быстром отказу от использования этого типа орудий в строевых частях. До ареста конструктора и прекращения работ по ДРП в 1937г. в части Красной Армии успели поступить 23 самоходные установки СПК с 76,2-мм безоткатной пушкой Курчевского. Большую часть этих СУ передали в разведывательные батальоны стрелковых дивизий. Им присвоили обозначение СУ-4, но иногда эти САУ именовались как СПК – самоходные пушки Курчевского. Всего через год после изготовления эти САУ начали выходить из строя. К началу 1939г. в справке ГАУ значились лишь 15 САУ, находящиеся в ремонте. Две самоходные пушки этого типа участвовали в советско-финской войне, где были потеряны. К июню 1941г. в войсках осталось до 20 СПК, из которых лишь 6 значились исправными. Несмотря на критику этого типа орудий, в воспоминаниях Архипова «Время танковых атак», служившего в составе 43-й танковой дивизии командиром разведбата, встречается такая оценка СПК (Архипов называет их РПД): «Особенно эффективно работали гаубичный дивизион и пушки РПД. Снаряд этой пушки свободно прошивал даже лобовую броню немецких средних танков, не говоря уже о легких Т-1 и Т-2 (- под Т-1 и Т-2 фигурируют, соответственно, танки Pz I и Pz II)».
Считается, что одна СУ-4 была захвачена немцами в расположении 44-й стрелковой дивизии, но, скорее всего, к немцам попали все СУ этого типа, находившиеся в советских войсках летом 1941г.
Про опытный образец 152-мм ДРП сообщают, что сам Кручевский предлагал такой вариант на танки Т-28, БТ-5 или Т-35. Предполагалось, что такие машины будут действовать в составе танковых подразделений в качестве тяжелых истребителей и использоваться для уничтожения средних и тяжелых танков противника. Из-за размеров и особенностей ДРП обстрел мог вестись в секторе 240° по горизонту и -5\+15° по вертикали. Мощности 24-25 кг фугасного снаряда, выпущенного со скоростью 350 м/с, было вполне достаточно для разрушения ДОТов или любого танка того времени. Правда, при скорострельности 5-6 выстрелов в минуту боекомплект из 15 снарядов расходовался бы весьма быстро. Пишут, что 152-мм ДРП испытывалась на шасси грузового автомобиля, но ни на одном из танков это орудие не появилось, хотя встречается, что что Ижорскому заводу поручили разработку башни под 152-мм ДРП. Впрочем, есть сомнение, что ДРП этого калибра устанавливалось и на грузовике.
Сомневаюсь, что калибр 154 мм существовал в принципе.
В отношении 203-мм ДРП на шасси БТ-2 встречается следующее: с предложением установить на БТ 203-мм пушку Курчевского выступил П.И. Гроховский, который возглавлял ОКБ ВВС РККА. В сети даже попадается рисунок: «Проект вооружения танка БТ-2 203-мм динамореактивной пушкой» (Рис.30).

Рис.30 – Рисунок БТ-2 динамореактивной пушкой.
Однако мне не попалось информации о разработки Курчевским ДРП калибром 203 мм.
Установка 305-мм ДРП на танке Т-28 выглядит, как предложение, не имевшее практического выхода.
Теперь попробуем определиться на каких танках (или их шасси) могли появится ДРП.
Фотодокументами подтверждается, что в 1933г. на шасси Т-27 была разработана и изготовлена САУ с 76-мм динамо-реактивной (безоткатной) пушкой Курчевского, получившая название «малый артсамоход СУ-3» или СУ-76К. (Рис.31)


Рис.31 - Малый артсамоход СУ-3.
На Т-27 попало, как будто, ДРП, переделанное из авиационного варианта - в таком случае можно предположить, что это было не 76-мм, а 37-мм ДРП. Известно, что осенью 1933г. на одном из бронеавтомобилей БАИ (Рис.32) была установлена 37-мм динамо-реактивная пушка конструкции Курчевского.

Рис.32 – Серийный БАИ 1933г. выпуска.
Орудие размещалось в штатной башне БАИ. Для этого в броне башни сзади было проделано отверстие с броневыми щитками, а на лобовом листе башни приварили коробчатый кожух. Начальная скорость снаряда 560 м/с. Боекомплект орудия состоял из 20 выстрелов. При стрельбе использовался танковый телескопический прицел. Дальность действительной стрельбы составляла 2 км. В процессе испытаний, проведенных на Кунцевском полигоне, выявили ненадежное крепление ствола в башне, неудачную систему заряжания, малый угол возвышения (от — 3°40' до +1°45') и невозможность стрельбы назад из-за конструктивных особенностей корпуса. Кроме того, орудие обладало сильными демаскирующими свойствами, что в конечном итоге привело к отказу от дальнейших работ по ДРП Курчевского.
Если все-таки согласиться, что это была 76-мм ДРП, то ситуация выглядит следующим образом. Масса орудия составляла 180 кг. Орудие было размещено на платформе Т-27 так, что имело углы возвышения ствола 0,5 – 15 град., горизонтального обстрела – 55 град. с правого борта и 60 град. с левого. Масса снаряда составляла 6,23 кг, а его начальная скорость 341 м/с. Для стрельбы из пушки применялись унитарные выстрелы со шрапнельным снарядом, осколочной и бронебойной гранатой. Наибольшая дальность стрельбы осколочной гранатой составляла 7000 м.
На войсковых испытаниях вскрылось множество недостатков, наиболее существенным из которых были плохие баллистические характеристики пушки и небезопасность её эксплуатации. При выстреле из сопла вырывалась мощная струя газов, а сильный звук и облако пыли демаскировали установку. Курчевский, в отличии от зарубежных аналогов, выбрал схему орудия с нагруженным стволом и высоким давлением внутри гильзы, что мало позволяло облегчить систему. Стремясь обеспечить минимальный вес при высокой скорострельности, он пытался осуществлять перезаряжание с дульной части ствола, экспериментируя со сгораемой матерчатой гильзой из нитроткани и чашечным обтюратором типа Минье на снаряде. Заряжание было трудоемким, надежного сгорания гильзы при выстреле не получалось, она порой рвалась в магазине при подаче, нарушалось зарядное соотношение, изменяющее баллистику. В результате происходили систематические осечки, неполноценные выстрелы, отказы при подаче и разрывы ствола. Не было и нормальной обтюрации снаряда, при стрельбе нельзя было находиться позади орудия, громкость стрельбы была ужасающей именно для стрелявших и своих войск позади линии огня, каждый выстрел требовал в два-три раза большего порохового заряда, чем традиционная артиллерия. Кроме того, малая высота линии огня орудия не позволяла осуществлять эффективное прицеливание на дальность свыше 400 м. Особенности конструкции орудия - ствол орудия проходил насквозь через боевое отделение - не позволяла эффективно прицеливаться и наводить орудие по горизонтали. В результате от этого проекта отказались.
9 марта 1934г. на шасси Т-26, в одной из башен двухбашенного варианта этого танка опробовали 76-мм динамореактивную (безоткатную) пушку Курчевского (Рис.33).

Рис.33 – Т-26 с пушкой Курчевского.
Испытания показали, что могущество танка при ведении огня по укреплениям и живой силе противника значительно возросло, но пользоваться орудием было очень неудобно. Особенно большие неприятности вызывало заряжание орудия, так как при движении по пересеченной местности сделать это удавалось далеко не всегда - выстрел иногда сваливался с лотка заряжания или застревал при досылке. На время заряжания (до 3-10 сек.) танк останавливался на ровной поверхности. Вследствие общей недоведённости конструкции, неудобства заряжания орудия, образования позади орудия при выстреле струи раскалённых газов, опасной для сопровождающей пехоты, дальнейшие работы были прекращены.
Собственно, это все, что можно утверждать, далее ступаем на зыбкую почву обмолвок и рассуждений. Вероятно история о том, что в одной из башен танка в опытном порядке устанавливалась 76-мм ДРП затем транслировалась и на Т-28, и Т-35, причем дата испытаний в одной из башен Т-28 76-мм ДРП совпадает с датой испытаний такого же орудия на Т-26. Если версия с Т-26 подтверждается фотодокументом, то про Т-28 и Т-35 приходится брать на веру, но я считаю вероятность такой информации ничтожной.
Перейдем к опыту установки ракетного вооружения на танках
Танковые торпеды, начиненные 130-ю кг тротила, были испытаны в 1931-1932гг. Внешне 250-ТТ представляли собой корпуса обтекаемой формы длиной 1805 мм, диаметром 450 мм, оснащённые четырьмя лопастями-стабилизаторами. По своей мощности они были эквивалентны снаряду 305-мм орудия. В теории, такие торпеды можно было использовать для борьбы против вражеских укреплений, бетонных огневых точек, железнодорожных узлов, уничтожение тяжёлой бронетехники противника. Танк БТ, оснащенный таким видом оружия, обладал бы исключительной ударной мощью.
Для начала инженеры проверили, насколько прочны корпуса самих торпед. В реактивную камеру заложили девяносто пять пороховых шашек, воспламенили - корпус выдержал, заряд оказался достаточным по мощности. Затем испытали 250-ТТ стрельбой со станка (опыты проводились на полигоне в подмосковном Ногинске). Для испытаний две торпеды вместо взрывчатки начинили влажным песком, а еще четыре корпуса залили тротилом. Испытание показало, что «полёт всех 6 бомб правильный, устойчивый, дальность для угла возвышения 50 градусов колеблется в пределах 1450–1500 метров». На четырёх воронках замерили и мощность фугасного разрыва. В среднем они достигали 10 метров в диаметре и четырёх в глубину.
Затем инженер 2-го ранга Тверской разработал одинарную и спаренную установку под 250-ТТ для танка БТ-5. (Рис.34)


Рис.34 – Чертеж и проекции БТ-5 с установкой ТТ.
Установка для торпед была смонтирована на башню танка, при этом одолевали сомнения, сможет ли вращаться башня, приняв дополнительную нагрузку в 400 кг с каждого борта. Чтобы защитить радиаторные решётки на корме от реактивных струй, конструкторы приделали к ним специальные козырьки. Управление установкой производилось из башни при помощи двухскоростного механизма, а запуск торпеды осуществлялся при помощи электрозапала. Углы возвышения торпедам задавали вручную, с разницей в 10 градусов. Максимальный угол возвышения составлял 48°.
Модернизированная машина получил обозначение РБТ-5 (Рис.35).

Рис.35 – РБТ-5.
Испытания РБТ-5 производились, по одним сведениям, в августе-декабре 1934г., по другим, с 19 июля 1936г. (первый пуск) до ноября 1936г. Опыты производились на полигоне у станции Подсолнечная. Первый раз выстрелили с закрытыми люками, второй — с открытыми, чтобы проверить, как газы от ракетного выхлопа воздействуют на экипаж машины. (Рис.36)

Рис.36 – Пуск 250-ТТ с танка БТ-5.
Полёт торпед оказался правильным, устойчивым, с разницей по дальности 100 метров — в зависимости от угла возвышения. Газовый столб работающего реактивного двигателя отражался от корпуса танка, не причиняя ему вреда. Башня БТ-5 с установленными торпедами поворачивалась плавно и легко.
Выявились и проблемы. Во-первых, требовалось на основании многократных опытов составить таблицу прицеливаний. Во-вторых, торпеды в полете все же не всегда вели себя стабильно, а, значит, уклонялись от цели. Обращалось внимание и на демаскирующий эффект при запуске торпеды. Перезарядка торпедной установки была сопряжена с риском для экипажа, которому нужно было для этого покинуть танк в разгар боя. В качестве решения этой проблемы инженеры предложили разработать специальный «зарядный танк». В таком контексте, можно говорить, что БТ-5 рассматривался не как танк, а как средство доставки «торпед», т.е. выступал в роли «торпедной» СУ.
Эксперименты с использованием 100-кг и 300-кг торпед положительной оценки также не получили.
На основании испытаний комиссия составила итоговый перечень недостатков танка-торпедоносца: «а/ громоздкость установки; б/ уменьшение боевых свойств танка; в/ малое количество торпедных снарядов; г/ невозможность перезаряжания без выхода экипажа из внутри танка; д/ незащищенность реактивных снарядов от пулеметного огня; е/ малая дальность полета снаряда…; ж/ малая начальная скорость…».
Далее работы по РБТ-5 с установкой под 250-ТТ остановились, документацию по проекту сдали в архив.
28 января 1935 года начальник НТК УММ Лебедев утвердил новые требования к ракетной танковой установке. Вместо массивных торпед теперь предлагалось использовать два РС-132 (неуправляемый реактивный снаряд, разработанный в начале 1930-х для самолетов), смонтированных на двух направляющих. Есть сведения, что такой вариант предлагал руководитель ОКБ ВВС РККА Гроховский П.И. (Рис.37), имея ввиду экспериментировать на Т-27 – ракеты РС-132 крепились по бортам сверхлегкой машины на специальных направляющих, а пуск ракет осуществлялся из боевого отделения.

Рис.37 – Гроховский Павел Игнатьевич, 1899-1943г.
Расстрелян.
Развитие такая система на Т-27 не получила ввиду низкой прицельной дальности стрельбы. Однако опыты продолжались на БТ-5, при этом два РС-132 монтировались на двух направляющих на левой стороне башни танка. (Рис.38)

Рис.38 – БТ-5 с установкой для РС-132.
Установка позволяла менять угол возвышения от 0 до +20°. Если рассматривать компактные РС-132, как дополнительное вооружение, то в данном случае, БТ-5 в такой модификации по-прежнему являлся, скорее, танком – танком с усиленным вооружением.
Помощь в работе оказал РНИИ с привлечением инженера АБТУ В.И. Александрова, которым предстояло выяснить воздействие газовой струи на механизмы и экипаж танка. На первом этапе испытаний, начавшихся в мае 1935 года, было выполнено три выстрела без особого ущерба для РБТ-5. Комиссия отметила, что звук при старте ракет не демаскирует танк, а отдача весьма незначительная. Вторая стадия испытаний началась 22 мая, но при первом же выстреле ракетное пламя сорвало защитный кожух над воздухоочистителем и защитным жалюзи, а также пробку заливной горловины топливного бака. Это вынудило прервать испытания на четыре дня и повторные пуски были проведены 26 мая в присутствии представителей АБТУ и РНИИ. Всего было выполнено четыре запуска фугасными снарядами и два агитационными, прошедших вполне успешно. Опыты продолжались вплоть до февраля 1936 года, но всё же систему признали слишком пожароопасной и в серию внедрять не стали.
Помимо рассмотренных выше вариантов «ракетных танков» в НИИ №3 в 1934-1938гг. тема оснащения танков ракетными установками велась сразу по трем направлениям. Кроме установки ракетного вооружения в качестве вспомогательного предлагалось сконструировать специальную башню и создать на базе БТ телеуправляемый танк с ракетными установками. Детальную проработку этих проектов проводил Александров, который в скором времени представил два варианта с РС-132, размещенными в специальной пусковой установке. Конструктивно она представляла собой трубу длиной 2000 мм, внутри которой находилась ракета на трех направляющих и удерживаемая двумя стопорами, убираемыми при выстреле. В первом случае две пусковые установки, с механизмами подачи ракет и простыми прицельными приспособлениями, крепилась на башне. Углы вертикального наведения находились в пределах от -5 до +25. В кормовой нише башни размещался боекомплект магазинного типа с 8 ракетами. Расчетная скорострельность должна была составить 4 выстрела в минуту. При этом основное вооружение сохранялось. Второй проект предусматривал наличие новой башни прямоугольной формы, в носовой части которой монтировалась пусковая установка. Боекомплект из 18 РС-132 размещался в боевом отделении и в нише башни, однако заряжение проводилось вручную. Существовал ещё и третий вариант, но он разрабатывался на основе танка БТ-7. Все проекты были рассмотрены в АБТУ, но не приняты к реализации.
Так же существовал проект самоходного миномета на базе БТ-5. На шасси танка предполагалось установить газодинамический 165-мм миномет, который был разработан в Артиллерийском НИИ. Башня на танке сохранялась, но сектор её разворота уменьшался до 30° относительно продольной оси, поэтому грубая наводка проводилась только при повороте всей машины. Углы вертикального наведения составляли от +40° до +80°. Предлагалось также оснастить самоходный миномет специальным устройством, обеспечивающим более удобное заряжание, что позволило бы довести скорострельность до 4 выстрелов в минуту. Боекомплект составлял из 50 комплектов зарядов и мин. Работы по этой машине были прекращены в 1936 году.
*Силовая установка.
До появления Christie M1931 танки, как правило, проектировались, исходя из значений «мощность двигателя – масса машины», в лучшем случае, около 15 л.с./т (в основном, от 6 до 10 л.с./т). Кристи заложил в свое изделие совершенно другие параметры – 32 л.с./т. Такое соотношение позволяло надеется на чрезвычайно высокие динамические и маневренные характеристики машины.
Однако центральным событием Этапа в области совершенствования силовой установки танков смотрится появление на них дизельных моторов.
Считается, что первыми задумались о необходимости замены карбюраторных моторов на дизели японцы чуть ли не в конце 1920-х годов, когда на одном из первых опытных танков произошел пожар. Известно, что советские руководители в 1931г. поставили задачу создать для танков «быстроходный» дизель. Примерно в 1933г. поляки при проектировании своего 7-тонника не смогли найти для него ничего другого, как швейцарский дизель. Попробуем вникнуть в детали происшествий по теме появления дизелей на танках, ибо дизельные двигатели прижились на танках, и до сего времени именно дизельные моторы являются железным сердцем большинства танков.
Вероятно, впервые в мировом танкостроении дизельный мотор появился на французском танке. Произошло это либо в сентябре 1930г., либо в 1931г. (возможно, весной), когда фирмой FCM по программе Char de Bataille был предъявлен опытный танк Char В (№103). (Рис.39)

Рис.39 – Опытный танк от фирмы FCM по программе Char de Bataille.
Опытный образец Char de Bataille от FCM имел 180-сильный дизель швейцарской фирмы Sulzer. Впрочем, номинальной мощности от этого двигателя добиться не удалось, к тому же при работе наблюдались сильные вибрации. Позже швейцарский дизель заменили на 180-сильный дизель французской фирмы Clerget, но и он не оправдал доверия.
Встречается, что примерно в это же время, около 1932г. дизельный двигатель мог появиться на итальянском танке Carro Ansaldo 9 ton – во всяком случае, так утверждалось в старых советских источниках. (Рис.40)

Рис.40 - Рисунок из советского источника 9-тонного танка «Ансальдо», как указано, с дизельным двигателем.
Вернемся к более достоверным французским делам. В декабре 1934г. два прототипа по теме среднего танка D2 (Рис.41) оснастили дизельными моторами.

Рис.41 – Прототип среднего танка D2.
Один прототип получил дизель от Lorraine-Dietrich, другой - Renault V6 123 л.с. Машины испытываются параллельно с однотипным танком, который имел карбюраторный двигатель мощностью 120 л.с. Уже 25 декабря прототип с бензиновым двигателем вышел из строя. Однако после сравнительных испытаний дизелей Lorraine-Dietrich и Renault всё-таки было решено оставить первоначальный бензиновый мотор.
Специалисты FCM в следующий раз применили дизель - дизель Berliet - на прототипе легкого тяжелобронированного танка Tracteur RN3 (Рис.42), машина была показана 12 апреля 1935 года.

Рис.42 - Опытный образец Tracteur RN3, апрель 1935 года.
Как замечают, дизель Berliet оказался слишком капризным и часто ломался.
10 сентября 1935 года на повторные испытания вышел второй опытный образец танка Tracteur RN3. (Рис.43)

Рис.43 - Второй вариант опытного образца Tracteur RN3.
На втором прототипе установили дизельный 4-цилиндровый двигатель Berliet, рабочим объемом 8,4 литра, мощностью 105 л.с., в результате удельная мощность танка составляла 7,6 л.с./т. Испытания, проходившие до 23 октября 1935г., показали прогресс по сравнению с первым прототипом. После некоторого усиления брони, летом 1936г. этот тип танка под названием Char léger Modèle 1936 FCM (FCM 36) был принят на вооружение французской армии и начал выпускаться серийно. Интересно, что к тому времени французы приняли на вооружение еще два танка, схожих по своим ТТХ с FCM 36 (речь идет о R-35 и Н-35), но танк от FCM был признан лучшим, в том числе, и по причине применения на нем дизельного мотора.
Производство FCM 36 разворачивалось медленно, в течение 1938-1939гг. было построено всего 100 штук этих машин.
Япония. В марте 1927г. в Японию прибыл новейший танк британской фирмы Vickers – Medium С (Рис.44).

Рис.44 - Vickers Medium C с японскими опознавательными знаками.
Японцы немедленно принялись тестировать британский «медиум». Увы, не обошлось без неприятного инцидента – в процессе нарочито интенсивных испытаний загорелся бензиновый двигатель - считается, что этот эпизод навел японских инженеров на мысль о необходимости использования на танках дизельного двигателя.
Вероятно, к 1934г. (менее вероятно – в 1933г.) специалисты фирмы Mitsubishi разработали дизельный двигатель Mitsubishi NVD 6120. Его характеризуют как 6-цилиндровый, двухтактный, воздушного охлаждения, мощностью 120 л.с. В литературе встречается упоминание и еще про один танковый дизель от фирмы Mitsubishi - A6120VD. Пишут, что он также выдавал 120 л.с. при 1800 об/мин, но этот мотор, вроде бы, имел систему жидкостного охлаждения.

Рис.45 – Первый прототип «Ха-го» - танк «Ши-ки».
Обычно указывают, что «Ши-ки» был готов в июне или в августе 1934г., но встречается и другое мнение – мол, произошло это в июле 1933г. На испытаниях 7-тонная машина показала скорость в 40 км/ч, запас хода 250 км. В ходе тестирования в зимних условиях японцы отметили и неприятную сторону дизельных двигателей – при температурах ниже 20°С танки заводились с трудом.
Дизель с жидкостным охлаждением от Mitsubishi - A6120VD – тоже, надо понимать, в 1934г. поставили на средний танк Тип 89, массой 12,1 тонну. С новым двигателем удалась увеличить дальность хода танка с 87 км до 170 км.
В 1935г. японцами было принято окончательное решение о комплектации танков дизельными моторами. Трудно однозначно определить, какому из японских танков следует отдать пальму первенства в смысле оснащения серийных танков дизельными моторами - легкому «Ха-го» (Рис.46) или среднему Type 89/94 (Рис.47).

Рис.46 – Японский легкий танк «Ха-го».

Рис.47 – Средний японский танк Type 89/94.
В апреле 1937г. на прототипе нового среднего танка «Чи-ха» также был установлен 135-сильный дизель от фирмы Mitsubishi, но на серийных машинах этого типа ставился V-образный дизельный двигатель Mitsubishi тип 97 мощностью 170 л.с. при 2000 об./мин. Система охлаждения – воздушная, с масляным воздухоочистителем. (Рис.48).

Рис.48 – 170-сильный дизельный мотор Mitsubishi тип 97.
В сентябре 1937г., пишут, фирмой Мицубиси был построен первый прототип нового малого танка Тип 97 ТК массой 4,7т. (Рис.49)

Рис.49 – Японский малый танк Type 97 Tе-Kе.
В кормовой части корпуса этой машины устанавливался, 4-цилиндровый дизельный двигатель O.H.V. воздушного охлаждения, развивавший мощность 65 л.с. при 2300 об/мин (был специально разработан для нового танка фирмой Ikegai Ironworks Corp).
Как видим, японцы скрупулезно претворяли решение об оснащении своих танков дизельными моторами. Причем, им удавалось размещать дизели как на средних, так и на легких и малых танках, т.е. они умели в довольно сжатые сроки создавать, в том числе, и небольшие танковые дизельные моторы.
Обратимся к теме разработки дизельных моторов для танков в СССР. Советское руководство (вероятно, сам Сталин) довольно быстро осознало необходимость установки на танках дизельных моторов. Причина такого осознания заключалась в том, что в начале 1930-х годов в СССР к запуску в массовые серии готовились иностранные типы танков с моторами, потреблявшими высокооктановые виды бензина: либо авиационный бензин, либо бензин 1-го сорта. С производством в СССР высокооктановых сортов бензина была проблема, к тому же помимо танков планировалось строить массу самолетов, и высокооктановый бензин предназначался авиации в первую очередь. Уже в июне 1931г. Управление механизации и моторизации РККА формулирует задачу разработки танковых двигателей. Известно о трех вариантах дизелей для танков, разрабатывавшихся с 1931г.
В 1931г. под крышей ОГПУ существовал авто-танковый дизельный отдел Экономического управления ОГПУ (АТДО ЭУ ОГПУ). В то время эта контора, в том числе, занималась эскизным проектированием танка прорыва массой не менее 75 тонн «под три-четыре пушки» - ТП-1. Для придания танку способности движения со скоростью до 30 км/ч его планировалось оснастить дизелем ФЭД-6 или ФЭД-8 мощностью 1850 или 2000 л.с. Однако на 1932г. (момент закрытия проекта) указанные двигатели готовы не были.
В том же АТДО ЭУ ОГПУ под требование УММ РККА от июня 1931г. разрабатывался специальный дизельный двигатель ПГЕ – пишут, что автор проекта Б.А. Витт присвоил дизелю название ПГЕ в честь зам. председателя ОГПУ Прокофьева Г.Е. В 1932г. был получен прототип агрегата. (Рис.50)

Рис.50 – Дизельный двигатель ПГЕ, 1932г.
В одних источниках указывают, что ПГЕ являлся 300-сильным двигателем с поршневым компрессором и прямоточной продувкой цилиндров. Но встречается и другое описание ПГЕ: двухтактный V-образный 6-цилиндровый мощностью 400 л.с. (294 кВт).
Двигатель ПГЕ намеревались ставить на перспективный советский танк ПТ-1 (Рис.51), который также проектировался Автотракторном КБ технического отдела экономического управления (ЭКУ) ОГПУ, и должен был сменить танки типа БТ, но дизель ПГЕ не получился работоспособным агрегатом.

Рис.51 – Общий вид танка ПТ-1.
В июле 1931г. к разработке танкового «быстроходного» дизельного двигателя приступили и на ХПЗ им. Коминтерна, где планировалось наладить серийное производство танков БТ. По заказу УММ следовало создать 12-цилиндровый V-образный 4-тактный дизель мощностью 400 л.с. (295 кВт). Приступил к работам по созданию быстроходного дизеля коллектив дизельного отдела ХПЗ, возглавляемого в то время К.Ф. Челпаном (в некоторых источниках Чеплан) (Рис.52).

Рис.52 – Константин Фёдорович Челпан, 1899 -1938гг.
Закончил Харьковский технологический институт.
Посещал заводы Англии, Германии, Швейцарии.
Расстрелян.
Конструкторской группой, разрабатывающей новый двигатель, руководил Я.Е. Вихман. В группу входили А.К. Башкин, И.С. Бер, С.Ф. Горбатюк, Г.Д. Париевский, С.Н. Соколов и др. Интересно, что Челпан не раз свидетельствовал, что большой вклад в создание этого двигателя внес Фирсов (Рис.53) – в то время руководитель танкового КБ ХПЗ.

Рис.53 - Афанасий Осипович Фирсов, 1883-1937гг., расстрелян.
Высококвалифицированный инженер с дореволюционным стажем.
Высшее образование получил в высшей технической школе в Митвайде (Германия) и политехническом институте в Цюрихе, специализировался на проектировании дизелей.
Работал конструктором на немецком заводе «Зульцер», в России также занимался проектированием дизелей на ряде предприятий.
При проектировании использовался опыт разработки создававшихся в тот период в Центральном институте авиационного моторостроения (ЦИАМ) авиационных 800-850-сильных дизелей АН-1, АД-1, разработчиком которых был А.Д. Чаромский (Рис.54), на него же указывают, как на главного идеолога танкового дизеля, так сказать, крестного отца начинания.


Рис.54 – Алексей Дмитриевич Чаромский (урожденный Бороничев), 1899-1982гг.
Один из первых выпускников академии Жуковского (1928г.).
В начале 1932 года был сконструирован 2-цилиндровый V-образный отсек (БД-14) с размерностью 14/16,5, углом развала 45 градусов, развивающий мощность 70 л.с. (51 кВт) при частоте вращения 1700 об/мин. Отрабатывался рабочий цикл двигателя, механизмы кривошипно-шатунный, газораспределения и другие составные части дизеля.
Выпуск рабочих чертежей для изготовления опытного образца дизеля БД-2 продолжался с октября 1932 года по февраль 1933 года. (Рис.55)

Рис.55 – Дизель БД-2.
Основными конструктивными особенностями опытного дизеля БД-2 были: картер, выполненный из алюминиевого сплава и с разъемом по оси коленчатого вала, общий на каждые шесть цилиндров алюминиевый блок со стальными «мокрыми» гильзами, общая алюминиевая распределительная головка и верхнеклапанный механизм газораспределения с одним впускным и одним выпускным клапанами. Нижний картер (также алюминиевый) - не несущий - являлся поддоном для масла. Два шестисекционных насоса фирмы «Бош» располагались в развале цилиндров и соединялись трубопроводами с закрытыми форсунками «Бош», находившимися в головках цилиндров по оси поршня. Поршень - алюминиевый с камерой сгорания в поршне (типа Гессельмана). Коленчатый вал, шатуны, клапаны, шестерни — кованые, с последующей обработкой.

Рис.56 – Дизельный двигатель БД-2 на стенде.
Полгода дизель проработал на стенде. Испытания выявили много дефектов, конструктивных и производственных недостатков. Наработка испытываемых на стенде двигателей до поломок сначала не превышала 10-15 часов.
В ноябре 1933 года дизель БД-2 №1 был установлен на танк БТ-2. Пробные пробеговые испытания танка с новым двигателем по территории завода были «первыми шагами» дизельного танкового двигателя. (Рис.57)



Рис.57 – Дизельный двигатель на танке БТ-2. На верхнем снимке уже вариант мотора №7.
Нижние фото – испытания в Кубинке в 1934г.
Дизель в танке работал устойчиво, но сильно дымил. Танк трясло, сказывалась неуравновешенность двигателя. Вибрация вызывала неприятные ощущения у танкистов. На этих и последующих испытаниях было выявлено много недостатков. Ряд конструктивных решений необходимо было пересмотреть, отдельные детали и узлы требовали доработки. В 1934 году в доводку дизеля активно включился И.Я. Трашутин, возвратившийся из США после стажировки.
Военные и лично Сталин внимательно следили за ходом работ по дизелю. Первый образец БД-2 был продемонстрирован руководству страны в 1934 году. За эту разработку завод ХПЗ, директор Бондаренко и Челпан были удостоены орденов Ленина.
После испытаний на стенде и в танке опытного образца БД-2 конструкторы приступили к разработке улучшенной конструкции дизеля первой серии. В 1934 году в КБ по быстроходным дизелям прибыло новое пополнение специалистов. В конструкторский коллектив влились московские специалисты из ЦИАМ Чупахин Т.П., Поддубный М.П. В дизельном отделе завода было организовано три КБ, разрабатывавших до десятка модификаций дизеля БД-2 (танковых, судовых, тракторных, авиационных). Для разработки серийной технологии изготовления и оснастки в ноябре 1935 года было создано технологическое бюро по БД-2, в котором уже на БТ-5, были продолжены объектовые испытания двигателей первой серии. (Рис.58)
Рис.58 – Это фото трактуется, как опытный БТ-5 с дизелем БД-2.
Пишут также, что в 1936 г. на танк Т-35 №3 в опытном порядке якобы был поставлен дизель БД-1 (-?) мощностью 400 л.с. На испытаниях он проявил себя неплохо, но недостаточная для 50-тонной машины мощность не позволила принять его на вооружение. Тогда был рассмотрен вариант с двигателем БД-2 мощностью 700 л.с. (-?) – испытания этой силовой установки проходили с апреля по ноябрь, но не принесли желаемого успеха. Затем была предложена улучшенная модель дизеля БД-2А (600 л.с.), опытный образец которого должны были поставить летом 1936г. С целью ускорения процесса с одного из Т-35А сняли штатный М-17, заодно переименовав его в Т-35Б, но требуемый дизель не был получен и танк простоял без дела полтора года.
Встречаются сведения, что в 1935г. на двух танках Т-37А (Рис.59) в экспериментальном порядке установили импортные четырехцилиндровые дизельные двигатели «Перкинс» мощностью 40,5 л.с.

Рис.59 – Советский плавающий танк Т-37А.
Как пишут: «Эксперимент показал, что дизели на танках имеют «некоторые преимущества» перед карбюраторными моторами».
Бо’льшего успеха в деле «дизелизации» танков добились в Польше.
В некоторых источниках можно найти, что в 1931г. польское правительство приняло решение разработать на базе британского легкого Mk.E собственную машину. Работы были развернуты в конце 1932 года силами конструкторского бюро бронетанковой техники Военного инженерно-исследовательского института и Государственных инженерных предприятий (PZInż).
По другой версии, вместе с партией «виккерсов» английской сборки поляки приобрели и лицензию на их производство, но лицензия не распространялась на двигатель. Для замены поляки выбрали швейцарский 6-цилиндровый дизельный двигатель с жидкостным охлаждением Saurer VBLDb (Рис.60) мощностью 110 л.с. (при 1800 об/мин.), который уже производился в Польше по лицензии под названием PZInż.235 – некоторые считают, что замена двигателя произошла по причине того, что поляки сочли британский двигатель пожароопасным.

Рис.60 - Дизельный двигатель Saurer.
В результате этого, как считается, случайного выбора (пишут, что Saurer оказался единственным двигателем, подходящим по размеру и мощности из производившихся в то время в Польше) польский аналог Vickers Mk.E – 7ТР - стал первым серийным дизельным танком в Европе. Прототип машины был получен в августе 1934г. (Рис.61)

Рис.61 – Прототип 7TP, август 1934г.
В марте 1935 года последовал заказ на первую серию дизельных 7ТР из 22 машин, большую часть которых - 18 шт. собрали до конца года и 4 танка в следующем 1936г. Всего до сентября 1939г. было собрано 132/134 серийных танка типа 7ТР в двух вариантах (двухбашенном и однобашенном).
Британцы в 1930-е годы также обращали внимание на возможность применения дизелей на танках.
В мае 1934г. был построен третий вариант среднего танка А7 (Рис.62).

Рис.62 – Британский средний танк А7Е3.
Вместо бензинового двигателя на танке установили спаренные дизеля АЕС С1 жидкостного охлаждения. В сумме спарка двигателей развивала максимальную мощность до 252 л.с.
Кроме того, в середине 1930-х на малом танке Mk.V (Рис.63) тестировали установку дизельного двигателя Перкинса, но, как пишут, высокоскоростные британские дизеля не были в достаточной степени отработаны под установку на танк, и проект развития не получил.

Рис.63 – Британский малый танк Vickers Light Tank Mk V.

Рис.64 – Указывается, что это вариант Pz.I Ausf.А с дизельным двигателем.
Обращали внимание на возможность применения дизельных моторов на танках и в США. Впервые на танк американцы установили дизельный двигатель в экспериментальных целях в 1936 – машина имела обозначение Combat Car T5Е3. Стандартный для американских легких танков мотор типа Continental W-670-7 имел значительный расход топлива. В качестве альтернативы обратили внимание на дизельный авиационный 9-цилиндровый мотор воздушного охлаждения Guiberson A-1020 (1020 означал объем - 1021 кубический дюйм, или 16,73 литра), развивавший мощность 310 лошадиных сил. Для танковых нужд в 1936 году разработали дефорсированный вариант мотора, Guiberson T-1020-4. Он развивал максимальную мощность 250 л.с. и эксплуатационную мощность 220 л.с. (Рис.65)
Рис.65 – Дизельный мотор Guiberson T-1020-4 с пусковым устройством Коффмана.

Рис.66 - Combat Car T5E4.
Заметно, что машина лишилась башни, по сути, это экспериментальное шасси.
По итогам испытаний, на опытных Combat Car дизельные моторы были установлены на нескольких серийных машинах.
В 1937г. три танка Light Tank M2A2 (Рис.67) в опытном порядке получили дизельные двигатели Guiberson T-1020.

Рис.67 – Первый серийный Light Tank M2A2.
Этот мотор имел воздушное охлаждение. По сравнению с авиационным вариантом A-1020, мощность Guiberson T-1020 была снижена с 340 до 250 лошадиных сил. Оснащённые дизельными моторами танки получили обозначение Light Tank M2A2E1. Войсковая эксплуатация танков с дизельными моторами показала, что в условиях низких температур они плохо заводятся.
В 1938г. в серию пошел новый вариант легкого танка для пехоты - Light Tank M2A3. В ходе эксплуатации 8 машин этого типа получили дизельные моторы Guiberson T-1020 series 3, позже заменённые на моторы 4-й серии. Танки с дизелем получили обозначение Light Tank M2A3E1. (Рис.68)

Рис.68 - Дизельный вариант, Light Tank M2A3E1.

Рис.69 - Combat Car M1A1.

Рис.70 - Combat Car M1A1E1, оснащённый дизельным двигателем Guiberson T-1020.
На снимке хорошо видны длинные трубы, идущие к воздушным фильтрам, характерные для дизельных танков.
Попробуем составить календарь по теме появления дизельных моторов в танкостроении. (Табл.1)
Таблица 1 – Основные даты по теме «дизельных танков».
|
1930г., сентябрь, либо 1931г. весна |
Франция |
Впервые в истории мирового танкостроения на танке (Char В (№103)) установлен дизельный двигатель. |
|
1931г., июнь |
СССР |
Сформулирована задача разработки специального танкового дизельного «быстроходного» двигателя. |
|
1933г., ноябрь
|
СССР |
Опытный «быстроходный» дизель установлен на танке БТ-2. |
|
1934г., май |
Британия |
Построен вариант среднего танка А7 с дизельной силовой установкой (Medium Tank А7Е3). |
|
1934г., июнь или август |
Япония |
Получен легкий дизельный танк «Ши-ки» (прототип «Ха-го»). |
|
1934г. |
Япония |
На серийном среднем танке Тип 89 в опытных целях установлен дизель. |
|
1934г., август |
Польша |
Получен первый прототип легкого дизельного танка 7ТР. |
|
1935г., март |
Польша |
Заказ на серийное производство дизельных танков 7ТР. В этом же году собрано 18 машин. |
|
1935г., апрель |
Франция |
Показан опытный танк с дизельным двигателем Tracteur RN3. |
|
1935г., последние месяцы года |
Япония |
Появилось три серийных дизельных танка «Ха-го». |
|
1936г., май |
США |
На легком танке Combat Car T5Е3 в опытных целях установлен дизель. |
|
1936г., лето |
Франция |
Принят на вооружение танк с дизельным мотором FCM 36. |
|
1936г. |
Япония |
Начало серийного производства средних танков с дизелем Тип 94. |
|
1937-1938гг. |
США |
Ряд серийных танков выпускается в варианте с дизельными двигателями. |
|
1937г., сентябрь |
Япония |
Появление малого танка с дизелем Type 97 Tе-Kе. |
|
1938г. |
Франция |
Начало серийного производства танков FCM 36. |
Получается, что вопреки расхожему мнению, первый дизельный танк появился не в Японии – первый танк с дизельным двигателем родом из Франции! Что касается первого серийного дизельного танка, то, видимо, это польский 7ТР, а, отнюдь, не японский «Ха-Го». Однако в предвоенные годы именно в Японии, начиная с конца 1935г., все основные типы танков производились с дизельными моторами. В Польше с 1935г. и во Франции с 1938г. серийно строилось по одному типу танков с дизельными двигателями. В США в 1937-1938гг. около 18-ти серийных легких танков разных марок также оснастили дизелями.
Со второй половины 1920-х в мировом танкостроении наметилась интрига: что выгоднее для танков – гусеничная ходовая часть или колесно-гусеничная. Ко второй половине 1930-х сомнения рассеялись – танку быть на гусеничном ходу. Только в СССР и в Польше к концу Коричневого Этапа продолжали проектировать и строить колесно-гусеничные танки. (Рис.71)

Советский средний по массе колесно-гусеничный танк Т-46-1.

Советский средний колесно-гусеничный танк Т-29.

Польский легкий по массе колесно-гусеничный танк 10ТР.
Рис.71 – Перспективные советские и польский колесно-гусеничные танки.
Совершенным анахронизмом в 1930-е году смотрелись машины с полугусеничной ходовой частью. (Рис.72)

Рис.72 – «Яркий» образец полугусеничного танка 1930-х годов – французский минилегкий по массе танк АМR Citroën-Kegresse Р28.
В 1930-е годы сформировалась ниша колесных танков. В среде колесных танков произошло разделение на «легкие» (двухосные), «средние» (трехосные) и «тяжелые» (четырехосные) машины. Все колесные танки имели классическую танковую компоновку корпуса, башню, строились из автомобильных агрегатов. (Рис.73)

Двухосный колесный танк AMD 35 Panhard 178 (Франция).

Трехосный колесный танк Styer-Daymler ADKZ (Австрия).

Четырехосный колесный танк Steyr ADGZ (Австрия).
Рис.73 – Полный спектр колесных танков.
Гусеничная ходовая часть в 1930-е годы претерпела важнейшее эволюционное изменение, актуальное до настоящего времени – речь идет о появлении в гусеничной ходовой торсионной подвески.
К началу 1930-х в гусеничной ходовой танков чаще всего применялись самозатухающие подвески на листовой рессоре или на пружинах, реже – гидравлические амортизаторы. Элементы амортизации предлагались как для одного опорного катка (индивидуальные), так и для нескольких опорных катков, как правило, малого диаметра, сгруппированных в тележки от 2-х до 6-ти катков (тележечная подвеска). Но, как указывают, «около 1935г.» - т.е., вероятно, в 1934г. в Швеции появился танк с поистине революционной торсионной подвеской, практически поставившей точку в решение проблемы адекватной танковой гусеничной ходовой части. Оказалось, что торсионы обеспечивают гораздо более плавную и эффективную езду, чем листовые рессоры, более надежны и удобны, чем свеча Christie. Сегодня почти на всех современных танках мира применяют именно торсионную подвеску.
Начнем по порядку.
Идея торсионной подвески заключается в применении в качестве упругого элемента торсиона - длинного вала, стержня, обладающего малой крутильной жесткостью, или в виде нескольких последовательно соединённых валов, расположенных параллельно. (Рис.74)

Рис.74 – Справа торсион квадратного сечения, слева – торсион круглого сечения.
При возникновении силы торсионы работают на закручивание, следовательно, когда сила исчезает, торсион раскручивается в исходное положение. (Рис.75)


Рис.75 – Слева снизу торсион в скрученном положении, справа – в исходном состоянии.
В бронетехнике распространение получили торсионы подвески в виде сплошного или полого круглого стержня или вала. Для соединения торсиона с другими деталями на его концах выполняются головки, как правило, со шлицами треугольного, трапециевидного и реже прямоугольного профиля. Для более точной установки торсиона на требуемый угол закрутки при его монтаже, а также при устранении осадки торсиона вследствие накопления остаточной деформации число зубьев на головках выполняют разным. Для повышения динамических свойств, воспринимаемой нагрузки и максимального угла закрутки торсион подвергают заневоливанию. Операция заневоливания заключается в закрутке горячего торсиона за предел его упругого состояния и выдерживании в таком положении некоторое время. При этом в поверхностных слоях возникают пластические деформации, а в сердцевине - упругие. После разгрузки торсиона сердцевина, стремясь освободиться от напряжений и вернуться в исходное состояние, встречает сопротивление пластически деформированного поверхностного слоя. Остаточные напряжения, полученные при заневоливании, позволяют повысить рабочую нагрузку и угол закрутки торсиона в эксплуатации. Однако рабочая закрутка заневоленных торсионов должна совпадать с направлением закрутки при заневоливании. Поэтому заневоленные торсионы левого и правого бортов не взаимозаменяемы и соответствующим образом маркируются.
Считается, что одними из первых тему применения торсионов в автомобилестроении начали разрабатывать в начале 1930-х в конструкторском бюро австрийского инженера Фердинанда Порше (Рис.76)

Рис.76 – Фердинанд Порше
(Ferdinand Porsche), 1871-1951гг.
В 1931г., после скандального разрыва с Daimler-Benz (с 1926г. Порше занимал должность главного инженера этой компании) он открыл в немецком Штутгарте конструкторское бюро по разработке двигателей всех типов, а также автомобилей и мотоциклов - Porsche K.G. В этом КБ под руководством инженера Карла Рабе (Рис.77) велись работы по приспособлению торсионов для автомобильной подвески (Рис.78).

Рис.77 – Слева Порше, справа Карл Рабе (Karl Rabe), 1895-1968гг.

Рис.78 – Один из патентов Рабе на торсионную подвеску.
Автомобилестроители заметили торсионную подвеску, например, на французском переднеприводном автомобиле Citroen Traction Avant (1934г.) применялись торсионы.
В какой-то момент идея выросла до задачи применения торсионов в гусеничной ходовой части. Не последнюю роль в этом осмыслении сыграл другой немец - Эрнст Книпкамп (Рис.79), работавший в Wa Pruf 6 (военный департамент моторизации).

Рис.79 - Генрих Эрнст Книпкамп, 1895-1977гг.
Инженер, с января 1926г. работал в Управлении вооружений сухопутных сил.
С 1936г. ответственный за разработку новых танков для вермахта.
С 1932г. он на базе фирмы Krauss Maffei занялся проектированием полугусеничных армейских тягачей. Изюминкой проекта стала гусеничная ходовая часть с шахматным расположением опорных катков на индивидуальных торсионах. (Рис.80, Рис.81)

Рис.80 – Общий вид полугусеничного тягача с шахматной гусеничной ходовой частью Книпкампа.

Рис.81 – Шахматная торсионная подвеска.
Такая схема сулила уменьшение давления конструкции на грунт. На твердой дороге опорными катками являлись только два внутренних ряда катков, внешний ряд катков воспринимал нагрузку лишь при движении по бездорожью. Однако в 1930-е годы шахматная ходовая с индивидуальными торсионами не появилась на немецких танках, хотя впоследствии (с 1942г.) ходовая Книпкампа станет визитной карточкой германского танкостроения. А в 1930-х, кажется, что идею Книпкампа заметили и пробовали обыграть японские специалисты. (Рис.82)

Рис.82 – Японский проект среднего танка.

Рис.83 – Экспериментальная подвеска для катков, расположенных в шахматном порядке.
Вероятно, первым в 1934г. торсионы на танк поставил немецкий конструктор Otto Merker (Рис.84), работавшей на германо-шведском предприятии АВ Landsverk (патрон - немецкая Gutehoffnungshütte, Aktienverein für Bergbau und Hüttenbetrieb (GHH), к которой имел прямое отношение концерн MAN), занимавший пост главного инженера.

Рис.84 - Otto Merker, 1899-1986гг., немецкий инженер. В 1929-1936гг. главный инженер фирмы АВ Landsverk. В 1930г. создал и возглавил на Landsverk отдел по разработке танков. Его можно считать «отцом» шведского танкостроения.
Практически во всех работах пишут, что первым танком, получившим торсионную подвеску, был L-60, но, возможно, это не так. Известно, что первый L-60 был получен в августе 1935г. (Рис.85)

Рис.85 – Первый L-60 на демонстрации в августе 1935г.
В то же время некоторые авторы пишут, что «около 1934г.» был построен в железе L-100, определенно, в качестве элементов подвески которого использовались торсионы. (Рис.86)

Рис.86 - L-100.
Вероятно, Меркер хотел вначале опробовать торсионную подвеску в деле на более легком танке L-100 массой 4,5 т, прежде чем устанавливать ее на более солидный танк L-60 массой 7,9, к тому же строившийся под зарубежный заказ.
Благая весть довольно быстро достигла Германии. Уже в 1935г. началась разработка танка по теме B.W. (Begleitwagen). Один из вариантов, которая строила фирма Krupp - B.W.II Kp. – имел торсионную подвеску. (Рис.87)

Рис.87 - Художественный образ B.W.II Krupp.
Летом 1936 года начались ходовые испытания танков (или шасси) B.W. С машиной B.W. II Kp возникли некие проблемы, указывают, что инженеры Krupp выбрали неудачную схему торсионной подвески. Каждый торсион должен был снабжаться амортизатором. Эти амортизаторы часто были склонны к перегреву, что приводило к проблемам с подвеской. По этой причине главный конструктор танка Вельферт настаивал на использовании самозатухающей подвески на листовой рессоре, что, в конце концов, и было сделано.
Более того, в 1930-е годы немецкие танкостроители к идее применения торсионов на танках не возвращались, несмотря на то что Книпкамп, с 1936г. ставший ответственным за разработку перспективных танков, тему торсионов активно продвигал. Вероятно, дело тормозилось не только фирмой Krupp – в то время почти законодательницей конструкции танков, получившей негативный опыт работы с торсионами на танках, но и фирмой Daimler-Benz – вторым важнейшим разработчиком немецкого типа танка – причем, на Daimler-Benz игнорировали торсионы не по объективным причинам, а, возможно, в пику Порше, с которым Daimler-Benz рассталась не лучшим образом.
Так или иначе, но немецкие танкостроители в середине тридцатых прошли мимо важнейшего инновационного решения для танковой ходовой части.
В конце 1935г. или в начале 1936г. на торсионы в гусеничной ходовой обратили внимание итальянцы. Итальянцы (фирма Ansaldo) разработали собственный вариант торсиона. Ходовая часть машины на один борт имела 4 катка среднего диаметра, сгруппированных по два в две тележки. Вместо рессор использовались торсионы. (Рис.88)


Рис.88 – Устройство итальянской торсионной подвески.
Новая торсионная подвеска была установлена на варианты по программе Carro Armato 5Т. (Рис.89)


Рис.89 – Варианты по теме Carro Armato 5Т с торсионной ходовой частью.
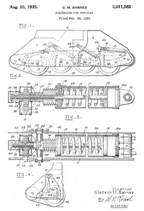
Встречается, что в США в 1936г. патентует свой вариант танковой торсионной подвески Гладеон Барнс - начальник Абердинского полигона. Однако в литературе не приводится описание конструкции торсионной подвески Барнса, нет и конкретных ссылок на данный патент. В то же время приводится патент Г. Нокса на резиновую торсионную подвеску, опробованную в 1937-1938гг. на шасси Combat Car T5E4. (Рис.90)

Рис.90 – Вид на блокированную резиновую торсионную подвеску и патент на нее Г. Нокса.
Пишут, что резиновая торсионная подвеска показала себя в целом неплохо, но её ресурс оказался низким.
На американских танках торсионная подвеска появилась спустя 7 лет после патента Барнса, если таковой имел место быть.
Интересный вариант торсионной подвески на свои танки PZLInż.130 и PZLInż.140 (Рис.91) разработал в 1936г. польский конструктор Эдвард Габих/Хабих (Рис.92).

Плавающий танк PZLInż.130.

Малый танк PZLInż.140.
Рис.91 – Танки, разработанные конструктором Габихом для польского заказчика.

Рис.92 – Edward Ludwik Habich, 1905-1987гг.
Ходовая часть состояла из 4-х опорных катков на борт, двух поддерживающих роликов, переднего ведущего и заднего направляющего колеса. Подвеска – торсионная на 2 опорных катка, блокированных в тележку (т.е. торсион на тележку). Между балансирами разместили гидравлический амортизатор, который работал как дополнительный упругий элемент. Говорят, такая конструкция обеспечивала чрезмерную мягкость хода – во время движения машину сильно раскачивало.
Некоторые наблюдатели допускают, что поляки заимствовали у шведов саму идею установки торсионов в качестве элементов подвески танков.
Наконец, в 1938г. французы в работе по теме перспективного тяжелого танка G1R, в варианте G1R (Renault) обозначили возможность применения торсионов в ходовой части, которая будет сулить выигрыш в массе. Кроме того, инженеры Renault предложили оснастить танк сдвоенной гусеницей.
Как видим, судьбоносное техническое решение об использовании торсионов в танковой гусеничной ходовой части не было в полной мере оценено танкостроителями в 1930-е годы, поэтому довольно активно развивались и другие варианты подвески. Некоторые из них заслуживают того, чтобы взглянуть на них детально.
Рассмотрим некоторые варианты среди «традиционных» систем на листовых рессорах.
Еще в 1925г. управляющий Vickers A.T. Dawson подал заявку на патент горизонтальной подвески, в которой в тележке на два опорных катка в качестве упругих элементов, скорее всего, выступают плоские рессоры. (Рис.92а)

Рис.92а – Из патента A.T. Dawson на подвеску тележки с двумя опорными катками.
Определенный фурор в нише «традиционной» ходовой части с пластинчатыми рессорами вызвала ходовая часть чехословацкого легкого танка Š-II-a, который в серии получил индекс LT vz.35. (Рис.93)

Рис.93 – Боковая проекция LT vz.35.
Ходовая часть танка (на один борт) состояла из 8-ми сдвоенных опорных катков, сбалансированных попарно и собранных в две тележки с амортизацией на полуэллиптических рессорах (тележки с опорными катками были сблокированы попарно и обладали общим узлом подвески с амортизацией на листовых четвертьэллиптических рессорах, в свою очередь, каждый из таких узлов крепился на кронштейне, приваренном к борту корпуса (Рис.94)), дополнительного независимого переднего натяжного катка, четырех поддерживающих роликов, переднего ведущего и заднего направляющего колеса.

Рис.94 - Узел подвески тележки танка LT vz.35.
Вокруг создания конструкции ходовой части танка Š-II-а есть некая интрига, связанная с авторством этой конструкции. Дело в том, что ходовая часть Š-II-а оказалась почти идентична конструкции ходовой французского танка SOMUA AC3 (Рис.95)


Рис.95 - Вверху ходовая танка Š-II-а, внизу – ходовая часть французского танка SOMUA AC3.
За исключением некоторых второстепенных деталей и исполнения, конструкции ходовой обеих машин поразительно близки. Советские авторы по этому поводу, как правило, высказываются в том смысле, что французы «украли» у чехословаков конструкцию ходовой части. Кажется, что такое допущение выглядит несколько вульгарно. В начале 1930-х между французской фирмой Schneider-Creusot (SOMUA являлась дочерним подразделением Schneider) и чехословацкой Škoda развернулось тесное сотрудничество в области оборонной промышленности, в т.ч. танкостроения – инженеры из Schneider работали на фирме Škoda. Если взглянуть на ситуацию под углом отношений Schneider-Škoda, то получится, что агрегаты, разработанные специалистами Schneider, или совместно специалистами Schneider и Škoda подошли как для чехословацкого танка Š-II-а, так и для французского SOMUA Type AC3. Следует заметить, что работы по SOMUA AC3 также начались в 1934г. – т.е. никак не позже, чем по чехословацкой машине Š-II-а.
Похоже, что конструкция тележки танка LT vz.35 вызвала интерес у немецких танкостроителей, у которых никак не получалось установить на танках типа Pz.III адекватную, по их мнению, подвеску. В 1936г. на прототипах Z.W.3 (в серии Pz.III Ausf.B) и Z.W.4 (в серии Pz.III Ausf.С) в ходовой части вместо пружин появились тележки, подвешенные на листовых рессорах, снабжённых гидравлическими амортизаторами. Отличия в ходовой между вариантами заключались в том, что на Z.W.4 присутствовало не две группы больших рессор на две группы тележек, а одна группа рессор по центру на вторую и третью группу тележек. Первая и последняя тележки имели, каждая своя, короткие параллельные (половинчатые?) рессоры. (Рис.96)


Рис.96 – Вверху - Z.W.3, внизу - Z.W.4.
Затем появилась мысль усовершенствовать ходовую часть, поскольку конструкция ходовой Pz.III Ausf.C (Z.W.4) с половинчатыми рессорами на первой и второй тележках выглядела сыровато. В обновленной ходовой вместо параллельных (половинчатых?) рессор передняя и задняя тележки получили полноценные рессоры, установленные под углом, также в конструкции ходовой появились амортизаторы, введены новые ведущие и направляющие колеса. Несколько по-иному стала выглядеть и конструкция подвески центральных катков. (Рис.97)

Рис.97 – Доработанная ходовая часть Pz.III.
Таким образом появилась новая модификация Pz.III Ausf.D. (Рис.98)

Рис.98 - Pz.III Ausf.D.
Создатели другого немецкого танка Pz.IV, отвергнув торсионную подвеску, выбрали довольно простой вариант рессорной. Ходовая часть на борт: ведущее колесо переднее, задний ленивец, 8 опорных катков малого диаметра, сблокированных в четырех двухкатковых тележках (расстояние между валами каждой тележки составляло 500 мм), подвеска тележек рессорная (Рис.99), четыре поддерживающих ролика.

Рис.99 – Схема шасси машины типа Pz.Kpfw.IV – только на этом изображении удалось рассмотреть конструкцию рессорной подвески.
Хотя такое решение выглядело не идеальным, но конструктивно было технологичнее многоколесных тележечных систем. Еще одним преимуществом рессорной подвески была простота ремонта в полевых условиях при неисправности или боевом повреждении. Интересно, что подвеска на танках Pz.Kpfw.IV не менялась до окончания их строительства в 1945г.
Похожее решение, только с катками большого диаметра реализовал чехословацкий инженер А.М. Сурин (Рис.100).

Рис.100 – Алексей Михайлович Сурин, 1897-1974гг.
Издали ходовая часть по Сурину похожа на ходовую часть Кристи – 4 катка большого диаметра на один борт, но у Кристи каждый каток имел индивидуальную пружинную подвеску (свеча Кристи), а Сурин, как бы спрятал за катки, причем бронированные катки, рессорную подвеску, при этом катки не имели индивидуальной подвески, а крепились на рессорах парно. (Рис.101)

Рис.101 - Запатентованная Алексеем Суриным подвеска.
Также просто и эффективно смотрелась рессорная подвеска и на легком немецком танке Pz.II. Число опорных катков состояло из 5 на борт, их диаметр - 550 мм, при этом каждый каток получал независимую рессорную (на листовых четвертьэллептических рессорах) подвеску. (Рис.102, Рис.103)

Рис.102 – Независимая рессорная подвеска опорного катка.

Рис.103 – Схема ходовой части с катками на индивидуальной рессорной подвеске.
В 1930-е годы большое распространение получили танки, в ходовой части которых в качестве амортизаторов применялись горизонтальные или наклонные пружины.
Собственно, идею горизонтальной пружины в гусеничной подвеске выдвинул британский изобретатель Хорстман (Рис.104) еще в 1922г.

Рис.104 - Sidney Horstmann, 1881 – 1962гг.
Основная особенность конструкции заключается в том, что два или более колеса установлены на общий каркас. Каждое колесо установлено на L-образном поворотном рычаге, который образует колоколообразный кривошип, поэтому движение колеса вверх поворачивает в боковое движение верхнюю часть кривошипа. Два рычага могут быть установлены на общем валу между ними. На двух колесах имеется винтовая пружина, проходящая горизонтально между вершинами кривошипных рычагов. Таким образом, если одно колесо перемещается вверх по препятствию, пружина сжимается против поворотного рычага другого колеса. Преимущество конструкции Horstmann заключается в том, что вес при помощи пружины распределяется сразу на два колеса. Другим преимуществом является то, что пружина может работать как при сжатии, так и при расширении, увеличивая общее перемещение подвески. С точки зрения технического обслуживания тот факт, что пружина соединяется в одной неподвижной точке и в остальном является автономной, позволяет легко обслуживать систему в полевых условиях. Расположение пружины над колесами также делает ее довольно компактной и не требует размещения внутри корпуса. Понятие «системы Хорстмана» может быть применимо к любой системе распределения веса, которая имеет два противолежащих рычага поворота, независимо от типа пружины между ними. Название Хорстман может относиться к любой подвеске, построенной компанией Horstman (теперь Horstman Defense Systems Ltd) независимо от типа тележки, конструкции торсионной балки, амортизатора.
В начале 1930-х Хорстман усовершенствовал свою систему - для улучшения динамического хода катков пружины ставились под наклоном – такой вариант подвески получил название ножницы Хорстмана. (Рис.105)


Рис.105 – Вверху танк с горизонтальными пружинами Хорстмана, внизу – с ножницами Хорстмана.
Затем был получен так называемый вариант «четверных» ножниц Хорстмана. К каждой тележке прилагалось по две наклонные пружины Хорстмана – одна с внешней стороны катков, а вторая с - внутренней. (Рис.106, Рис.107)

Рис.106 – «Четверные ножницы» Хорстмана.

Рис.107 - Малый танк Vickers Light Tank Mk.VIb с «четверными» ножницами Хорстмана.
К концу 1930-х подвеска Хорстмана была усилена за счет введения дополнительной пружины. (Рис.108)

Рис.108 – Танк с усиленной подвеской Хорстмана.
В середине 1930-х Хорстмана и капитана Роки привлекли к разработке новой ходовой части для танка массой 13 тонн. Новый результат выглядел так: на каждый борт танка приходилось по две тележки с тремя опорными катками каждая, оснащенные блокированной балансирной подвеской со спиральными пружинами и гидравлическим амортизатором. Первый каток передней тележки (как и третий каток задней тележки) имел диаметр 24 дюйма (610 мм), в то время как два других – по 19,5 дюймов (495 мм). (Рис.109)

Рис.109 – Подвеска для британского танка А9.
Если разнообразные пружины Хорстмана в Британии применялись преимущественно для минилегких, в лучшем случае, легких танков, то в СССР получили подвеску с наклонной пружиной для тяжелого танка Т-35. Ходовая часть Т-35 применительно к одному борту состояла из направляющего колеса (ленивца) с винтовым механизмом натяжения гусеничной цепи (направляющее колесо установлено в передней части танка на четырех кронштейнах, привернутых к броневым листам корпуса и фальшборту), ведущего колеса (звездочки) со съемным зубчатым венцом, 8 опорных обрезиненных катков малого диаметра, подвеска колес блокированная, на два катка в тележке, подрессоривание тележки на четырех спиральных пружинах и амортизаторах (- гидравлических?), 6 верхних и одного переднего поддерживающего катка. Передний поддерживающий каток, установленный между направляющим колесом и передней тележкой подвески, предназначался для упора гусеницы во время преодоления вертикальных препятствий. (Рис.110)



Рис.110 – Вид на ходовую часть Т-35 и ее элементы.
Логично допустить, что при такой массе основную роль играли именно гидравлические амортизаторы, а пружины – дополнительную.
Во Франции большое распространение получила подвеска опорных катков в парных тележках, но для амортизации тележки служили не рессоры, а горизонтальные резиновые пружины. Наглядный представитель этого направления танк R-35. (Рис.111)

Рис.111 – Французский R-35.
Ходовая часть танка R-35 с каждого борта состояла из ведущего колеса, литого ленивца, пяти обрезиненных одиночных опорных катков и трёх обрезиненных поддерживающих роликов. Четыре передних катка были сблокированы в двух тележках «ножничного типа», состоявших из двух шарнирно закреплённых между собой балансиров, в нижней части которых находилось по катку, а верхние части были шарнирно соединены между собой через упругий элемент, в роли которого выступала резиновая рессора. Пятый каток был подвешен на одиночном балансире, рессора которого была соединена другим своим концом с корпусом танка.
Японский конструктор Хара (Рис.112) в 1933г. разработал для японских танков свой вариант ходовой части с горизонтальной пружиной.

Рис.112 – Томио Хара (原 乙未生), 1895-1990гг., ведущий японский танковый конструктор.
К концу карьеры имел звание генерала.
Опорные катки были сблокированы по два на качающихся балансирах, которые подвешивались на длинном плече Г-образного рычага, ось которого крепилась на борту корпуса. В свою очередь, короткое плечо рычага шарнирно соединялось с горизонтальной тягой, идущей к горизонтальным спиральным пружинам, заключенным в трубы, приклепанным к бортам корпуса. Ведущие колеса цевочного зацепления размещались спереди, направляющие колеса – сзади. (Рис.113)

Рис.113 - Вид на элементы ходовой части Хара.
Ходовая Хара со второй половины 1930-х применялась практически на всех основных японских танках.
Помимо горизонтальных и наклонных пружин в 1930-е годы в подвеске танков продолжали широко использоваться и вертикальные пружины, при этом пружины применялись, как для амортизации тележек, так и отдельных катков. Впервые такой подход реализовали на фирме Vickers в 1922г. Инженеры Vickers сделали систему из двухкатковых тележек, которые крепились к вертикальным свечам, имевшим пружинную подвеску. Такая подвеска имела достаточно большой ход, что обеспечивало относительно плавное движение не только по дорогам, но и по пересеченной местности. (Рис.113а)

Рис.113а – Подвеска фирмы Vickers, впервые реализованная для18-pdr Transporter.
Этот тип подвески применялся на танках Vickers Medium Mk I-II. (Рис.114)

Рис.114 – Работа подвески на танках типа Vickers Medium Mk I-II.
Наглядным примером использования вертикальной пружины в качестве амортизатора тележки может выступать ходовая часть французских средних танков типа D. (Рис.114а)

Рис.114а – Схема ходовой части серийного Renault D2.
Применительно на один борт ходовая часть танка D2, состояла из 12 опорных катков, сблокированных в три тележки с блокированной пружинной подвеской (по одной на каждую тележку), 2 независимых опорных катков с гидропневиматическими амортизаторами, 4 поддерживающих роликов, переднего направляющего и заднего ведущего колеса с гребневым зацеплением.
В США Гарри Нокс (Рис.115) разработал для танков вариант подвески тележек на пружинах (блокированная подвеска на пружинах), который стал стандартной подвеской американских танков.

Рис.115 - Harry Austin Knox, 1875-1957гг.
Опорные катки среднего диаметра блокировались попарно в тележку. Каждая тележка в качестве амортизирующего элемента имела пружину. Количество тележек можно было увеличивать или уменьшать в зависимости от габаритов машины. Подвеска получила обозначение Vertical volute spring suspension (VVSS). (Рис.116)

Рис.116 – Стандартная подвеска тележек американских танков VVSS.
Подвеска имела не только большой ход, но и обеспечивала каткам большую свободу.
Получила дальнейшее развитие индивидуальная пружинная подвеска. Первой ласточкой в этом направлении (разработана в 1928г.) выступила легендарная свеча Кристи (Рис.117). (Рис.118)

Рис.117 - John Walter Christie, американский конструктор автомобильной и танковой техники. 1865-1944гг.


Рис.118 – Свеча Кристи.
В 1930-е годы было предпринято несколько мер для модернизации свечи Кристи.
В США уже известный нам Барнс также значительно доработал подвеску Кристи, убрав один из существенных недостатков – высоко торчащие свечи. Он установил их под наклоном, одновременно переделав балансиры, что позволило снизить высоту корпуса. За счёт уменьшения объёмов, занимаемых подвеской, корпус получил рациональные углы наклона верхних бортовых листов. (Рис.119)

Рис.119 - Запатентованная Гладеоном Барнсом модернизированная подвеска по типу Кристи, 1935г.
Кристи также пришел к решению с наклонным расположением свечей. Более того, Кристи убрал свечи в цилиндры и разместил их снаружи корпуса под углом. (Рис.120)

Рис.120 - Отчетливо видно наклонное положение свечей подвески, убранных в цилиндры по борту корпуса на танке Christie M1936.
В середине 1930-х Кристи прибыл в Британию, где продолжил работы по совершенствованию своей ходовой. Было получено опытное шасси М1937. Существенным отличием экспериментального шасси стало использование в подвеске в паре с наклонной свечой (пружиной) параллельно установленного телескопического амортизатора. Такое решение делало подвеску значительно совершеннее, поскольку амортизатор быстро гасил колебания танка при разгоне и торможении. (Рис.121)

Рис.121 – Экспериментальное шасси М1937.
Это решение перекочевало на британские крейсерские танки с ходовой Кристи (Рис.122), хотя обычно считают, что британцы сами параллельно с пружинами установили телескопические гидравлические амортизаторы.

Рис.122 – Первый британский крейсер с ходовой Кристи.
Помимо свечи Кристи появлялись и другие варианты индивидуальной пружинной подвески.
В самом начале 1930-х немецкий инженер Гроте (Рис.123), трудившийся над проектом среднего танка в СССР, оснастил свою машину индивидуальной пружинной подвеской.

Рис.123 - Edward Grote.
Мне трудно заподозрить Гроте в нарушении авторских прав Кристи, поскольку Гроте начал работу над проектом своего танка весной 1930г., а Кристи зарегистрировал патент на свечу в мае 1931г.
Вот как описывал систему подвески танка начальник УММ РККА Халепский: «Подрессоривание танка. Танк подрессоривается, во-первых, спиральными рессорами на все 10 колес (- по пять опорных катков на борт), во-вторых, специально установленными компрессорными камерами, в-третьих, пустотелостью секций самих грузошин. Все это обещает дать большую эластичность хода танка». (Рис.124)

Рис.124 - Устройство опорных катков, поддерживающих роликов и гусениц танка ТГ.
Независимая подвеска на спиральных пружинах, допускавшая вертикальное перемещение опорных катков на расстояние до 220 мм, вместе с полупневматическими шинами типа «Эластик» обеспечивали танку чрезвычайно мягкий ход. Свидетели сообщали, что, находясь в цеху без гусениц, танк свободно перекатывался с места на место усилием 2-3 человек. Ходовая часть Гроте имела и другую интересную особенность. Известно, что каждый из 10-ти опорных катков снабжался тормозами. Учитывая это решение, в принципе, можно допустить, что танк мог поворачиваться на колесном ходу за счет блокировки всех колес тормозами по одному борту, при этом колеса другого борта продолжали вращение. В источниках следует интересное замечание на этот счет – мол, система блокировки каждого колеса создавалась на случай обрыва гусениц – получается, что допускалось движение танка на колесах, но это являлось, скорее, нештатной ситуацией. (Рис.125)

Рис.125 – ТГ без гусениц, хорошо просматриваются сдвоенные опорные катки.
Советские продолжатели ТГ – танк ТА-1 (танк Асафова) - для ходовой части выбрали индивидуальную пружинную подвеску на пяти парах обрезиненных катков, что, видимо, близко по смыслу подвеске Гроте. (Рис.126)

Рис.126 – Боковая проекция ТА-1.
Интересно, что хотя на ТА-1 планировалось применить ходовую часть близкую к ходовой Гроте и Кристи, ТА-1 проектировался как гусеничная машина, вариант движения на колесах на ней не был предусмотрен. Но в другом варианте танка среднего класса – ТА-2 – к идее колесно-гусеничного хода вернулись. Причем конструкция ходовой получилась очень похожей на ранний вариант колесно-гусеничной ходовой Кристи, реализованной на танке Christie M1919. На ТА-2 ходовая собиралась из трех парных катков большого диаметра и поднимаемой пары (тележка на свече) опорных катков малого диаметра. При движении на колесах, тележка поднималась, передняя пара катков была управляемой, а две задних пары были ведущими. На Christie M1919 принцип тот же, но было два парных катка (они же ведущее колесо и направляющее), а в средине тележка с двумя парными катками малого диаметра, тележка вывешивалась на пружине. (Рис.127)


Рис.127 – Вверху - Christie M1919, внизу – боковая проекция ТА-2.
С индивидуальной пружинной подвеской экспериментировали и немцы на танках типа Leichttraktor 1933 (Рис.128) и Pz.III Ausf.A (Рис.129), но быстро от нее отказались.

Рис.128 - Rheinmetall Leichttraktor 1933.

Рис.129 - Pz.III Ausf.A.
В Британии в середине 1930-х конструктор Лесли Литтл (Рис.130) спроектировал свой, весьма оригинальный вариант гусеничной ходовой части.

Рис.130 - Leslie Francis Little.
Первоначально конструкция ходовой части Литла предполагала блокированную подвеску с пружинами на А-образных рычагах и опорными катками большого диаметра. Ведущие колеса и ленивцы одновременно выполняли роль опорных катков. (Рис.130а)

Рис.130а – Исходная конструкция ходовой Литтла.
Дальнейшая эволюция привела к появлению индивидуальной подвески катков, а ведущие колеса и ленивцы сделались поворотными. За счет изгиба гусеничных лент такая ходовая могла поворачивать по-автомобильному, что позволяло увеличить скорость прохождения поворотов. (Рис.131)

Рис.131 – Шасси и ходовая Литла в финальной конфигурации.
Во многих источниках ходовую Литла описывают как некую производную от ходовой Кристи, едва ли не со свечной пружиной в качестве главного элемента подвески, но как видим, это ошибочное мнение, Литл создал совершенно оригинальную конструкцию. Применительно на борт ходовая Литла выглядела предельно просто: 4-е опорных катка, 3 из которых имели резиновые бандажи, а четвертый не имел, поскольку выполнял роль ведущего колеса при помощи цевочного зацепления посередине гусеницы. При помощи рулевой колонки автомобильного типа и рулевых тяг поворачивались передние и задние колеса (первые и четвертые), что вызывало изгиб гусеницы с шарнирами типа «лента-змея», и танк менял курс в требуемом направлении. Такая система позволяла машине поворачивать в нужную сторону с радиусом около 94 футов на полном ходу без подтормаживания гусениц. Уменьшить радиус разворота можно было дополнительным подтормаживаним гусениц, но при этом средние колеса (вторые и третьи) качались относительно продольной оси. Никаких гидроприводов или других аналогичных новшеств, облегчавших поворот рулевого колеса водителем, не предусматривалось, так что при энергичных эволюциях (особенно на больших скоростях) требовалось прикладывать. По другим сведениям, танк управлялся рулевой колонкой с гидроусилителем руля, что должно было облегчать работу водителя при работе с рулевым колесом. Мелкозвенчатая гусеница собиралась из 99 металлических траков шириной 241 мм. (Рис.131а)

Рис.131а – Light Tank A17E1 с ходовой Литла.
Еще один британский конструктор венгерского происхождения Штраусслер (Рис.132) развивал сою конструкцию гусеничной ходовой части для танков.

Рис.132 - Straussler Miklós, 1891-1966гг.
Штраусслер решил включить в конструкцию гусеничной ходовой части независимые поперечные балансиры, которые допускали независимый подъем каждой гусеницы на препятствиях при относительной стабильности корпуса машины. (Рис.133)

Рис.133 – Поперечные балансиры для гусеничной машины, проходящие через корпус машины.
На борт монтировалось по два наружных колеса большого диаметра (оба ведущие) 830-838 мм и два внутренних холостых опорных катка малого диаметра ок. 500 мм. Каждое колесо и опорный каток имели независимую подвеску. В случае такого технического решения появлялась возможность максимально уменьшить колебания танка (Рис.134) при движении на местности и получить достаточно стабильную платформу для стрельбы.


Рис.134 – Балансирующая ходовая Штраусслера.
Кроме того, при повреждении гусеницы трансмиссия машины могла позволить продолжать движение и на колесах (при этом привод осуществлялся на переднюю и заднюю пару колес/опорных катков), хотя основным способом передвижения являлся гусеничных ход. Видимо, это допущение позволяет отнести этот тип ходовой к колесно-гусеничной ходовой части.
В дальнейшем Штраусслер отказался от поперечных балансиров, а подача крутящего момента на переднюю и заднюю пару катков осуществлялось через систему дифференциалов и карданных валов, расположенных снаружи по бокам корпуса. (Рис.135)



Рис.135 – Ходовая Штраусслера и ее возможности.
В качестве примера абсурдных идей по теме конструкции гусеничной ходовой части для танков упомяну решение, которое выдвинул советский изобретатель-самоучка Н.Ф. Цыганов (Рис.136).

Рис.136 – Цыганов Николай Федорович, 1908-1945гг.
Цыганову было дано задание усовершенствовать колесный ход колесно-гусеничного танка типа БТ. Группа Цыганова предложила два варианта по теме. Один вариант выглядел вполне допустимо. Для улучшения ходовых качеств танка при движении на колесах, ведущими были сделаны три пары опорных катков. Для подвода мощности к каткам внутри машины вдоль бортов корпуса проходили карданные валы, от которых через конические шестерни по вертикальным валам вращение передавалось на опорные катки (колеса). (Рис.137, Рис.138, Рис.139)

Рис.137 – Схема передачи вращения к трансмиссии колёсного хода танка БТ-ИС:
1 — синхронизатор, 2 — полужёсткая зубчатая муфта, 3 — угловая коробка, 4 — промежуточный валик, 5 — верхняя коробка, 6 — кардан, 7 — составной карданный вал, 8 — привод ведущих колёс, 9 — ведущие колёса, 10 — задний балансир, 11 — управляемое колесо.

Рис.138 – Схема передачи крутящего момента.

Рис.139 – На снимке виден привод на II, III и IV пары колес.
А вот второй вариант улучшенной ходовой части для БТ от Цыганова может изумить даже малоискушенного в технических деталях читателя. Цыганов предложил ходовую часть, которая состояла из серии опорных катков, соединенных шарнирной цепью, опора танка на катки осуществлялась при помощи специальной лыжи, резиновой гусеницы. Пишут и так: «опора танка на катки осуществлялась с помощью лыж, которые для предельной их гибкости сделаны составными из отдельных звеньев на шарнирах». (Рис.140).
Рис.140 – Модель в 1/5 натуральной величины БТ Цыганова изобретение II.
Помимо подвески в мировом танкостроении довольно остро стоял вопрос о рациональной конструкции гусениц. Нет смысла разбирать всевозможные варианты, достаточно перечислить главные требования к гусеничным лентам: способность хорошо держаться на опорных катках, эксплуатационная надежность, простота в изготовлении и ремонте. В 1934г. американский разработчик танковой техника Гарри Нокс запатентовал тип гусеницы, который включал конструктивные особенности, применяющиеся и в гусеницах современных танков. (Рис.141)

Рис.141 – Патент Г. Нокса на гусеничный трак.
Нокс разрабатывал конструкцию для резиновой гусеницы, но внес ряд решений, нашедших применение и на стальных гусеницах. Во-первых, он предложил два гребня на траке, что надежно защищало ленту от сброса. Во-вторых, траки крепились друг к другу не пальцами, а на специальных гребнях-соединителях - что заметно упрощало монтаж трака.
Замечу, что в тридцатые годы в СССР придумали способ обработки траков гусениц высокочастотными токами, что значительно повышало их прочность.
В 1930-е годы господствовало мнение, что танкам достаточно иметь противопульную и противоосколочную защиту. Следовательно, толщина бронирования на уровне 20 мм вполне достаточна. Компенсировать слабую защиту танка от артиллерийского огня, по мнению многих ведущих специалистов того времени, должны были скорость, маневренность и относительная малогабаритность танков. Исключением являлся французский подход.
Еще в конце Первой мировой французы пытались разрабатывать танки с противоснарядной броней. Французы пришли к мнению, что вести прицельный огонь танк на полном ходу не может, поэтому прежде, чем сделать выстрел танк должен если не остановиться, то, по крайней мере, замедлить ход. В свою очередь, остановка делает танк легкой мишенью для противника. К тому же французы долгое время воспринимали танки, как средство усиления пехоты – т.е. принимали основной огонь на себя, взламывая оборону противника. По изложенным выше соображениям, получалось, что танки должны иметь противоснарядную броню, а большая скорость не обязательна. В конце 1920-х годов в спецификациях французских перспективных танков толщина лобовой брони указывалась не менее 30 мм, а в конце 1930-х уже 60 мм для средних и тяжелых танков и 40 мм для легких. Британцы в середине 1930-х также признали целесообразность разработки тяжелобронированных легких и средних танков для поддержки пехоты (обе «Матильды»).
В тридцатые годы улучшалось как качество самих броневых плит, так и способы их соединения.
Оставлю за скобками химические формулы, упомяну лишь, что танки бронировались, как правило, стальной гомогенной броней. Немцы бронировали многие свои танки (Pz.I, Pz.II ранних серий, возможно, часть Pz.III) из более прочных хромникелевых листов. В СССР в 1934 году на Ижорском заводе была получена кремне-марганцево-молибденовая сталь повышенной вязкости. Изготовленная из неё броня практически не давала отколов и трещин, а отсутствие хрома позволяло отправлять броневые детали на переплавку без дополнительной обработки. Чехи использовали для защиты легкого танка LT vz.35 броневые листы из хромо-никеле-молибденовой стали с содержанием никеля 4,7% в лобовых деталях и 1,9% в бортовых. Учитывая качество брони, танк LT vz.35 мог выдержать фронтальный обстрел из 20-мм автоматических пушек или крупнокалиберных пулеметов на дистанции до 500 метров. Впрочем, в литературе чехословацкую броню хулят. Броня завода POLDI Hütte из города Кладно (основной поставщик броневых листов в Чехословакии) отличалась высокой твёрдостью, но была довольно хрупкой и при попадании часто давала трещины. Считается, что по своим свойствам чехословацкая броня уступала британской или немецкой.
Британцы в 1930-е годы начали использовать для танков броню с поверхностной закалкой - цементированную броню (Рис.142) типа Vickers S.t.a Plat.

Рис.142 – Структура гетерогенной, односторонне закаленной стальной броневой плиты.
Такая броня толщиной 13 мм считалась эквивалентной/равноценной гомогенной броне толщиной 14-15 мм. Однако не все так однозначно. В начале 1930-х годов поляки выяснили, что британская броня Vickers S.t.a Plat не отвечала заявленным характеристикам и уступала по стойкости польской броне, надо полагать, гомогенной, но несколько боле толстой. Британские 13-мм бронеплиты в ходе испытаний были пробиты огнём крупнокалиберного 12,7-мм пулемёта с расстояния в 350 метров. ПТП (предел тыльной прочности) Vickers S.t.a Plat составил 722 м/с, в то время как ПТП польской брони - 777 м/с; а ПСП (предел сквозного пробития) Vickers S.t.a Plat - 790 м/с, этот же показатель польской брони равнялся 817-828 м/с. Кроме того, соединения листов были непрочными и при попадании снарядов броня раскалывалась. (Рис.142а)

Рис.142а – Испытания обстрелом башни танка Vickers Mk.E.
Советские испытания подтвердили, что качество польской брони оказалось выше, чем качество брони Vickers S.t.a Plat. При обстреле из 45-мм советской пушки английская броня раскалывалась, а польская броня отколов не давала.
Помимо британцев гетерогенную (цементированную) броню на танках пытались применять советские и чехословацкие танкостроители. Упоминается о цементированной броне для советских танков среднего класса Т-28 и Т-29, но, кажется, они ее не получили. Чехи во второй половине 1930-х, как будто, предлагали на экспорт легкие и средние танки с цементированной броней.
В качестве курьеза можно вспомнить о композитной броне, которой испанские конструкторы Landesa Domenech и Areces хотели защищать свой танк Carro de Combate Ligero Para Infantería Modelo 1936. Композитная броня состояла из трех слоев: внешний (плита из хромоникелевой стали 13 мм), далее следовал промежуток и внутренний слой (плита из хромоникелевой стали 3 мм). Точно неизвестно, чем заполнялся бы промежуток между плитами – некоторые допускают, что деревом (-!?). По ходу дела от композитной брони отказались в пользу хромоникелевой стали толщиной от 8 мм до 16 мм.
По методу производства применялась как катаная, так и литая броня. Использовались и разные способы соединения броневых плит.
В 1930-е годы все еще процветали танки, чьи корпуса и башни собирались на заклепках или гужонах. Гужоны - разновидность винта с квадратом над головкой, после вворачивания квадрат срубается, если гужоны хорошо завальцевать, то визуально может показаться, что элементы корпуса соединены без скрепляющих элементов, т.е. сварены друг с другом. Великолепный пример тому танк Кристи М1931 (Рис.143), который собирался на гужонах, но во многих источниках пишут, что танк имел сварной корпус – вот, что значит мастерство финишной обработки.

Рис.143 – Глядя на фото, и впрямь можно подумать, что танк сварной.
Но в начале 1930-х танкостроители начинают стремиться внедрять в сборку корпусов и башен сварку, либо соединять на болтах большие литые фрагменты корпусов, а башни отливать целиком.
Немцы еще в 1920-е годы опробовали на своих «гросстракторах» набор корпуса литыми деталями, которые соединяли сваркой. Такой способ строительства корпусов танков был применен впервые в мировом танкостроении, но об этом методе знали только сами немцы и, возможно, «догадывались» советские друзья из школы КАМА.
Тема постройки танков из больших литых фрагментов, соединяемых болтами, особенно набрала обороты во Франции. На ведущем французском танкостроительном предприятии того времени Renault столкнулись с проблемой нехватки и дороговизны квалифицированных сварщиков, способных работать с толстыми броневыми плитами. С другой стороны, еще одна французская оружейная фирма – Hotchkiss – добилась большого прогресса в технологии создания литой брони. При толщине брони 30 мм и больше технологичность литья оказывалась выше. Использование литых деталей обещало заметное упрощение изготовления корпусов и башен танков. Замечателен тот факт, что генеральный директор компании Hotchkiss Генри Айнсворт (Henry Mann Ainsworth), бывший британский офицер, предложил создать машину боевой массой 5-6 тонн с литым корпусом, которая могла бы заменить в войсках морально устаревшие Renault FT. Аргументами «за» выступало то, что новый танк обещал получиться недорогим и, как следствие, массовым. 2 августа 1933 года была выдана официальная спецификация на разработку нового лёгкого по массе тяжелобронированного пехотного танка (Char leger d'accompagnement d'infanterie). Первенец по теме появился в 1934г. (Рис.144)

Рис.144 - Прототип Renault ZM на испытаниях.
Танк получил корпус, собираемый в основном из литых деталей. Литые элементы скреплялись между собой болтами.
Понятно, что почти все (за искл. FCM 36) французские тяжелобронированные 6-тонники создавались по этой технологии. (Рис.145)

Рис.145 – Задел литых корпусов к танкам Н-39.
Вероятно, вершиной этого направления в танкостроении можно считать французский средний кавалерийский танк S-35, разработанный на фирме SOMUA. (Рис.146)

Рис.146 – Деревянная модель SOMUA AC3.
Корпус танка собирался из 4-х основных литых компонентов (двух половинок нижней части корпуса, подбашенной коробки и коробки, прикрывающей моторно-трансмиссионное отделение) при помощи болтов. (Рис.147)

Рис.147 - Схема соединения четырех литых броневых деталей корпуса танка S35.
Передняя часть с боевым отделением была цельнолитой. Задняя часть корпуса, где находилось МТО, состояла из двух частей, соединяемых продольно.
В отношении толщины бронирования танка S35 встречается три близких по смыслу, но расходящихся в деталях описания. 1. Толщина бронирования «ванны» корпуса составляла 36 мм в скруглённой лобовой части (имевшей угол наклона не более 30° к вертикали), 25 мм в бортах (дополнительно прикрытых 10-мм экранами над ходовой частью), а в корме — 25 мм под наклоном в 30° в нижней части, и 35 мм в вертикальной верхней части. 2. Лоб верхней половины корпуса имел толщину 36 мм и состоял из скруглённой нижней части (в основном имевшей углы наклона 45° и более), и расположенной под углом 22° наклонной верхней части. Борта верхней половины имели толщину в 35 мм (при угле наклона 22°), а корма — 25 мм (при наклоне в 30°). Толщина днища корпуса составляла 20 мм, крыши корпуса — от 12 мм до 20 мм (при угле наклона в 82° над моторным отделением). 3. Бронирование: лоб корпуса — 35-40 мм, борт корпуса — 35-40 мм, корма корпуса — 38 мм, крыша — 20 мм, днище — 20 мм. Согласно советским обмерам (на полигоне в Кубинке испытывался один из серийных танков этого типа), лобовая часть танка защищалась 45-мм броней, а толщина бортовых листов составляла 40-45 мм. (Рис.148)

Рис.148 - Схема бронирования танка S35, выполненная советскими специалистами.
Несмотря на технологичность создания литой брони, все же существовал вопрос: какая броня более прочная – катаная или литая. Французы в июне 1937г. произвели экспериментальный обстрел танка R-35 из 25-мм французской противотанковой пушки, а потом из немецкой 3.7 cm Pak 35/36. Выяснилось, что лобовая и бортовая броня R-35 все же «с трудом», но пробивалась снарядами немецких 37-мм противотанковых пушек (из 18 выстрелов, сделанных пушкой 3.7 cm Pak по танку, 14 оказались с пробитием брони), а французские 25-мм орудия ПТО могли пробить её только на дистанциях до 100 метров (из 22 выстрелов 25-мм пушки 13 пробили броню). (Рис.149)

Рис.149 – Результаты эксперимента обстрелом.
Таким образом, открылось, что стойкость литых деталей при равной толщине с катаной броней на 10-15% ниже. Советские специалисты НИИ-48 (имел отношение к металлургическому комбинату в Мариуполе), заполучив в 1940 году образец R35, назвали и литую и катаную броню французского танка менее качественной, чем сталь 8С, которая использовалась для советских танков. В ходе обстрела из советской 45-мм противотанковой пушки катаные борта давали отколы размером до 3-х калибров. (Рис.149а)

Рис.149а – Из отчета советских специалистов НИИ-48 об обстреле танка R-35, 1940г.
И все же литая французская броня держала попадания 37-мм снарядов с дистанции 300-400 м, что в целом выглядело приемлемо для условий начала Второй мировой войны.
Сварка оказалась более прогрессивным способом строительства танков, чем сборка на болтах. Современные танки, имея более сложную по составу броню, создаются путем сварки отдельных элементов корпуса или башни.
Большого успеха в деле применения сварки в танкостроении в 1930-е годы добились в Германии (практически все немецкие танки, построенные в 1930-е годы, были сварными) и в Швеции. В СССР первым сварным танком был танк, построенный немецким инженером Гроте. Советские честно пытались перенять полезный опыт и применять сварку в танкостроении – ближайшие последователи ТГ – опытные танки по теме Т-35 имели сварные корпуса, а серийные Т-35 получали частично сварной, частично клепаный корпус. Но, в основном, советские танки по-прежнему клепались, за исключением опытных ПТ-1 (1932г.), Т-29 (1936г.) и серийных БТ-7 и Т-26 обр. 1937г. (массовое производство одного наладилось в середине десятилетия, а второй выпускался в 1937г.), у которых корпуса выполнялись преимущественно сварными и в меньшей степени клепаными – в некоторых источниках даже пишут, что корпус БТ-7 был цельносварным. Японцы применили сварку для плавающих танков, стараясь тем самым улучшить герметизацию машины на плаву. Во Франции в середине 1930-х все же удалось создать серийный танк со сварными корпусом и башней (FCM 36). На сварку в танкостроении в конце Этапа обратили внимание в Британии.
Еще одной остро обозначившейся темой, касающейся улучшения защиты танков, стала тема рационального угла наклона бронелистов корпуса и башни. Полезность рационального угла наклона бронелистов для рикошета пуль, осколков и снарядов была известна давно. Кроме того, считалось, что если бронелист разместить под углом 45° к нормали, то снаряду, пробивая броню, придется преодолеть путь в два раза больший, чем, если бы бронелист по отношению к нормали имел угол 90°, т.е. стоял строго вертикально.
Во Франции в середине 1930-х был создан серийный танк FCM 36, который абсолютно точно отражал теорию рационального угла между бронелистами и стал образцом для подражания, например для советских танкостроителей. (Рис.150)



Не правда ли, довольно легко угадываются очертания самого известного советского танка.
Как видим, корпус и башня танка FCM имели идеальные рациональные углы наклона. Корпус изготавливался из катаных бронелистов, но при этом их соединяли не клёпками, а сваркой. Бронирование: лоб корпуса — 40 мм / 20°, борт корпуса — 20-40 мм / 0–45°, корма корпуса — 20 мм, крыша корпуса — 15 мм / 90°, днище — 12 мм / 90°, лоб башни — 25-40 мм / 10°, борт башни — 40 мм / 10°, корма башни — 40 мм / 10°, крыша башни — 15 мм / 90°.
Можно создать прекрасный танк с гармонично сбалансированными характеристиками «динамические свойства-проходимость-защищенность-вооружение», но если такой танк будет «слепым» и «глухим», то на поле боя он может проиграть менее совершенным противникам, или фатально огорчить экипаж даже под напором противотанковых средств пехоты или артиллерии, а то и вовсе окажется в неэстетичной позе где-нибудь в воронке или кювете. При этом необходимые приборы наблюдения и связи в десятки, если не в сотни раз компактнее и дешевле всего остального железа, но они более инновационны!
Самым примитивным прибором наблюдения, апробированном еще на британских ромбах, являлась смотровая щель, иногда прикрытая триплексом.
Первым специальный прибор для наблюдения за местностью получили командир и пулеметчик кормовой башни французского тяжелого танка FCM 2C. Прибор назывался стробоскоп. (Рис.151)

Рис.151 – На главной башне FCM 2C прекрасно видна «башенка» - это и есть стробоскоп.
На кормовой башне также имелся стробоскоп – вероятно, единственный случай в истории мирового танкостроения, когда на танке устанавливалось сразу два стробоскопа.
Стробоскоп – прибор, воспроизводящий зрительную иллюзию, когда подвижный предмет может казаться неподвижным за счет быстрой фиксации повторяющихся световых импульсов. Стробоскоп на танке 2С состоял из двух пустотелых куполов. Внутренний скелетонизированный, каркасный купол закреплялся на месте. На вершине каркасного купола, вращаясь на центральной опоре, находился второй купол или барабан. Барабан был прорезан многочисленными вертикальными прорезями/щелями в 1/2 мм, расположенными по окружности. Барабан вращался при помощи специальных моторчиков вокруг неподвижного купола со скоростью 400–500 об/мин, за счет этого для наблюдателя создавалось сплошное открытое окно видимости. (Рис.151а)

Рис.151а – Стробоскоп танка Lourd 2C.
Стробоскоп — это два куполообразных пустотелых разрезных шара, в которых нарезаны дырочки или щели в 1/2 мм. Один купол вставляется в другой, и вращается специальными моторчиками. При вращении этих куполов в разные стороны со скоростью 400–500 об/мин получается сплошное открытое окно видимости.
В 1920-е годы опыты по установке стробоскопов на большие танки продолжились. (Рис.152)

Рис.152 – Американский тяжелый танк Mk VIII со стробоскопом.
Преимущества этого нововведения, казалось, были налицо, однако сам прибор был еще несовершенен. Кстати говоря, стробоскоп имелся на танке Гроте, некоторые японские тяжелые танки начала 1930-х также оборудовались стробоскопами. (Рис.153)

Рис.153 – Изображение японского танка Type 91 “2591”.
В 1930-е на танках стали появляться малогабаритные приборы наблюдения: монокулярный перископический прибор (Рис.154), эпископ (Рис.155) и панорамный перископ.

Рис.154 – Монокулярный перископ 2301 фирмы Optikotechna, устанавливался на чехословацкие танки.

Рис.155 - Эпископическое устройство наблюдения, закрывало передний видовой экран.
Подобные приборы в 1930-е появлялись на немецких, итальянских, чехословацких, шведских и советских танках. Иногда на некоторых европейских танках перископическими приборами наблюдения оборудовались места командиров и водителей.
Примерно в 1933 году поляк Рудольф Гундлах (Рис.156) совершил прорыв в деле создания адекватных танковых приборов наблюдения.

Рис.156 - Rudolf Gundlach, 1892-1957гг.
С 1932 года работал в варшавском Военном институте инженерных исследований, вплоть до Второй Мировой войны руководил Отделом проектов и конструкций Бюро технических исследований бронетанковых войск.
Гундлах разработал танковый панорамный перископ, обладавший хорошей обзорностью и возможностью быстрой смены повреждённой призмы. (Рис.157)

Рис.157 – Патент Гундлаха на панорамный перископ от 1938г. и сам прибор.
Кроме панорамного перископа Гундлах сконструировал довольно удачный перископический наблюдательный прибор наводчика wz.37 (Рис.158).

Рис.158 - Перископический прицел наводчика Гундлаха. Одновременно он являлся и перископическим прицелом, связанным тягой с орудийной установкой.
Известно также, что на некоторых французских танках, например Н-39 (Рис.159), устанавливалась стереоскопическая командирская панорама.

Рис.159 – Французский Н-39, на башне виден поворотный броневой купол, вероятно, здесь могла размещаться стереоскопическая панорама.
У немцев, видимо, еще в конце 1920-х были разработаны свои командирская панорама и панорамный перископический прицел, которые устанавливались в броневом стакане на башне. (Рис.160, Рис.161)

Рис.160 – Бронировка панорамного прицела.

Рис.161 – На башнях немецких танков типа Grosstraktor и VK 31 хорошо просматриваются бронированные стаканы.
Приборы были скопированы советскими и перекочевали на танки Т-35, Т-28, БТ-5, БТ-7 и некоторые другие советские танки. (Рис.162)

Рис.162 – Т-26, видимо, в комплектации с панорамным перископическим прицелом.
*Дополнительные полезные приборы.
Разумеется, в 1930-е годы все танковые орудия и некоторые пулеметы имели оптические телескопические прицелы. Остановимся на более экзотических для того времени приборах, суливших известные преимущества, использовавшей их стороне.
Единственный серийный пятибашенный танк с тремя орудиями в разных башнях Т-35 строился в СССР, поэтому советские непосредственно столкнулись с довольно специфической в мировом танкостроении проблемой координации действий разных башен командиром танка, т.е. проблемой управления огнем. Теоретически танк Т-35 мог сосредоточить на одной цели два орудия и три пулемета, но на практике оказалось, что командиры башен, лишенные непосредственного контакта с командиром танка, вынуждены самостоятельно искать и выбирать себе цели. Для превращения танка в единый боевой комплекс требовалось установить на танк централизованную систему целеуказания и наводки артиллерийских орудий. Такой прибор был разработан слушателями артиллерийской академии в 1935г. Прибор предназначался полковой артиллерии, но военинженер А. Зиновьев предложил установить оборудование на многобашенные тяжелые танки. После доработок его название изменили на «Танковый прибор управления артиллерийским огнем и пристрелки» (ТПУАОиП или просто ТПУАО). Было разработано несколько вариантов, предназначенных для монтажа на 2-х, 3-х и 4-пушечные танки, и соответственно получивших индексы ТПУАО-2, ТПУАО-3 и ТПУАО-4. Выделенный для испытаний Т-35 получил систему ТПУАО-3-2 – то есть для трехпушечного танка, вторая модель. В комплект прибора в 1935г. входили 6-ти или 9-футовый морской дальномер «Барр и Струд», «часовые указатели Мильмана» от ПУАЗО К-33, которые испытывались с зенитной пушкой обр. 1931г., и «вычислитель Гаврилова». Под данное оборудование танк получил дополнительную командирскую башню из обычной стали с артиллерийским перископом разведчика и дальномером, закрытым защитным кожухом из конструкционной стали. В дальнейшем, если бы систему приняли на вооружение, кожух должны были изготовлять из бронелистов толщиной 7-10 мм. Первые испытания Т-35, оснащенного ТПУАО прошли неудачно. Прибор доработали, но при повторных стрельбах, проведенных весной 1936г. существенного улучшения не добились. 17 сентября 1936г. состоялся показ танка с модифицированным прибором ПУАТ-35 (прибор управления артиллерийской стрельбой Т-35). Стрельба велась по ограниченно видимой мишени из двух орудий с дистанции порядка 300 метров. Оптика орудийных прицелов была заклеена папиросной бумагой и наведение осуществлялось только с помощью артиллерийского перископа и вычислителя Гаврилова. Всего выпустили 17 снарядов калибра 76,2-мм и 21 снаряд калибра 45-мм, при этом отмечалось 11 прямых попаданий и 13 попаданий в «непосредственной близости» от мишеней. Начальство (нарком Ворошилов) осталось довольно полученными показателями. В отчете отметили, что ПУАТ-35 проявил себя с хорошей стороны, хотя и требует доработок. В 1938г. новый начальник АБТУ Д. Павлов, подробно ознакомившись с полученными результатами отметил следующее: «Прибор ПУАТ-35 является опытным и негодным для войсковой эксплуатации… К числу недостатков прибора следует отнести большие габариты, вес и малую надежность работы… Серийная переделка танков Т-35 под установку ПУАТ не представляется целесообразной из-за их малого количества, высокой стоимости самого прибора и его сомнительной боевой ценности в условиях современной маневренной войны…». Проект был закрыт, а танки Т-35 так и не стали единым боевым комплексом. На одной платформе разрозненно действовали два 45-мм орудия, одно 76-мм и пять пулеметов.
К 1937г. в СССР разработали интересную систему стабилизации огня из танковой пушки - телескопический прицел ТОП-1 (или ТОС-1) с гироскопической стабилизацией линии прицеливания. Оборудованное таким прицелом танковое орудие могло открыть огонь по наведенной цели автоматически только в момент совмещения оси ствола пушки с осью прицела, что имеет значение при стрельбе во время движения по неровной поверхности. (Рис.163)



Рис.163 – При гироскопической стабилизации прицеливания выстрел происходил автоматически при совмещении оси ствола с осью прицела.
В период с 6 по 14 января 1937 года на Сенежском полигоне ВАММ РККА прошли испытания три БТ-7, оснащенные этими прицелами. Прицелы были приняты на вооружение. До конца года планировалось сдать 420 БТ-7, оснащенных прицелами ТОП-1, однако с середины 1939 г. прицелы со стабилизацией начали постепенно демонтировать ввиду того, что стрельба велась в основном с места, а освоение нового оборудования в войсках посчитали слишком трудоёмким процессом. Жаль, и прибор, и навыки обращения с ним явились бы крупным бонусом для советских танкистов в 1941-м.
Французы имели намерение применять на перспективных средних танках по теме G1 дальномер. Прибор планировалось устанавливать в командирской башенке, что позволяло давать целеуказание по движущимся объектам на дальностях до 2000 м. Эта инновация была обусловлена желанием в полной мере использовать возможности 75-мм пушки длинной 32 калибра на всей практической дальности стрельбы.
Увы, ни одно из перечисленных выше новшеств не нашло в 1930-е годы практического применения.
Впрочем, на французских тяжелых танках типа В1 утвердился гирокомпас - механический указатель направления истинного (географического) меридиана, предназначенный для определения курса танка, а также азимута (пеленга) ориентируемого направления.
В танкостроении выделяют связь внутреннюю (между членами экипажа внутри машины) и внешнюю (между танками или со штабом/начальником). В 1930-е годы развитие специализированных технических средств позволяло решать перечисленные обе задачи.
Идея применения танкофона/интеркома для связи между членами экипажа была опробована на больших танках еще в 1920-х годах. В 1930-е на многобашенных, а порой и на легких однобашенных танках также появлялись системы внутренней связи, причем, как аудиоканальные, так и световые/лампочные. Например, на многих чехословацких серийных танках разных типов для связи командира танка с водителем имелась трехкнопочная световая сигнализация. (Рис.164)

Рис.164 - Устройство для подачи световых команд водителю.
В связи с этим в ретроспективном плане хочется вспомнить об уникальном канале связи командира танка с наводчиком орудия, который был реализован немцами на своем первым серийном танке A7V. Прибор предназначался для указания на цель. Он крепился на крыше корпуса над артиллерийской установкой и поворачивался командиром танка с помощью троса. Перед расчетом орудия над правым смотровым лючком располагалась панель с белой и красной лампочками: их сочетания означали команды «заряжай», «внимание» и «огонь». Остальному экипажу, как и во всех танках того времени, командиру приходилось подавать команды криком, перекрывая шум двигателей и трансмиссии.
Наибольших успехов в деле оснащения танков внешней связью добились в странах, где радиоприборы могли обеспечивать надежную связь на несколько десятков километров.
В начале 1930-х годов практически во всех странах мира, где имелось серийное танкостроение строили линейные танки и однотипные радиофицированные танки, которые предназначались, как правило, для командиров взводов, рот и батальонов. Например, еще в 1925г. во Франции была принята программа радиофикации танков, согласно которой, все командирские машины должны были оснащаться радиостанциями ER 29, причем командиры эскадронов/рот должны были вдобавок получить ER 26ter, а танки высшего командного состава – ER 27.
Линейные тяжелые танки и многие средние довольно часто оснащались радиосвязью. (Рис.165)

Радиофицированный британский средний Mk.III E1.

Все французские средние танки типа D были обеспечены радиосвязью. На снимке танки D1с характерной антенной.

Французские тяжелые танки типа B1 также были радиофицированы.

Радиофицированный FIAT 3000B.

Строй японских средних танков «Чи-Ха», в колонне как радиофицированные танки, так и обычные линейные машины без радиостанций.

Колонна британских малых танков типа Mk.II, одни машины радиофицированы (имеют антенну), другие – видимо, нет.

Радиофицированные варианты советских легких танков типа БТ и Т-26.
Рис.165 – Примеры радиофицированных танков.
В середине 1930-х Германия, видимо, выбилась в лидеры в вопросе радиофикации танков. В 1934г. в Германии, говорят, по предложению Гудериана (Рис.166), было принято решение об обязательной радиофикации всех типов танков (впервые идею об обязательной радиофикации публично высказал в 1923-1924 годах, вероятно, первый заметный немецкий теоретик танковой тактики Эрнст Фолькхайм, в 1918г. он командовал танком A7V № 560, а с 1923г. являлся преподавателем тактики танковых и моторизованных войск в пехотной школе в Деберице).

Рис.166 – Гейнц (Хейнц) Вильге́льм Гуде́риан (Heinz Wilhelm Guderian), 1888-1954гг.
Считается одним из отцов механизированных и танковых соединений вермахта. Крупный теоретик и практик бронетанковых войск.
В тридцатые годы строились и специальные радиотанки с мощными радиостанциями, которые, видимо, правильно считать командно-штабными машинами. (Рис.167)

Советская командирская машина КБТ на шасси танка БТ-7, 1937г.
Серийно не строилась.



Варианты командирских машин на базе немецкого Pz.I.


Немецкая командирская машина на шасси танка Pz.III. Пишут, что вместо пушки стоял ее муляж (-?).
Выпускалась серийно в 1938-1939гг.

Радиотанк на базе японского среднего танка «Чи-Ха», машина не имела штатного артиллерийского вооружения. Проект реализован в 1939г. Строилась серийно в 1940-х годах.
Рис.167 – Варианты командирских машин на танковых шасси.
Такие машины в прошлом назначались для командиров батальонов (Рис.168), но с улучшением качества более портативных радиостанций их, очевидно, потеснили боевые радиофицированные машины. (Рис.169)

Рис.168 – Машина командира батальона Medium II Box Tank на базе среднего британского танка Vickers Medium Mk.II, 1928г.

Рис.169 - Батальонный строй британских средних танков типа Medium Mk.II**. Все машины этой модификации оснащались радиостанциями, но на переднем плане машины с более развитой антенной, что может указывать на их большие возможности в смысле приема-передачи радиосигнала. Вероятно, два передних танка с длинными антеннами предназначались для командиров танкового батальона.
Пожалуй, прямое отношении к теме радиофикации танков имеет сюжет о разработке радиоуправляемых танков, или телетанков, как говорили в СССР.
Идея создания радиоуправляемых танков примерно в одно и то же время в конце 1920-х посетила головы советских специалистов и майора японской армии Нагаямы (Рис.170).


Рис.170 – Радиоуправляемый танк Нагаямы, 1929г.
Как видим, танк Нагаямы представлял собой прототип радиоуправляемого танка-робота. Зона действия такого танка ограничивалась зоной видимости оператора, действующего со стационарного поста.
В СССР пошли несколько иным путем. Была создана т.н. «телегруппа» из двух танков. На одной машине размещалось радиооборудование, а вторая машина представляла собой необитаемый радиоуправляемый боевой комплекс. Таким образом, предполагалось, что управляемый телетанк будет двигаться впереди движущегося за ним танка управления и выполнять команды, передаваемые из обитаемого танка управления. В СССР телегруппы создавались из танков почти всех серийных типов, но наибольшие ожидания были связаны с телегруппой танков Т-26. Танк управления ТУ-26 нес штатное вооружение линейного танка и передающее оборудование. Управляемый телетанк ТТ-26 (Рис.171) был снабжен огнеметом, пулеметом и приемным оборудованием.

Рис.171 - Танк ТТ-26.
По команде ТТ-26 мог двигаться и стрелять из своего вооружения. В 1936г. 74 танка Т-26 переделали в телемеханические группы (37 групп). В ходе советско-финской кампании 1939-1940гг. телемеханические группы не оправдали связанные с ними ожидания. Некоторые источники сообщают, что с началом ВОВ ТТ-26 переделывались обратно в свое изначальное состояние и в таком виде отправлялись на фронт.
К варианту внешней связи можно отнести и каналы связи приданного танку пехотного подразделения с экипажем танка. На некоторых японских танках для этой цели предусматривался канал звуковой связи (посредством зуммера) (Рис.172), а на некоторых британских вскоре появится специальный телефонный аппарат, установленный в укромном месте снаружи танка.

Рис.172 – На броне японского легкого танка «Ха-Го» цифрой 1 обозначена потайная наружная кнопка для связи с экипажем.


